Operation CHARM: Car repair manuals for everyone.
Manuals through 2025 now available!

Our trusted friends have launched a new website named LEMON, which has newer manuals. It also contains all the CHARM manuals.

LEMON is the spiritual successor to CHARM, I recommend you try it!

Link: lemon-manuals.la or lemon-manuals.org.ua

(Some people have issue connecting. LEMON is investigating. For now, use Firefox or change your DNS server)

Or, hide this message: temporarily or permanently

Cruise Control Servo: Service and Repair




Cruise Control Actuator









Removal and Installation

1. Disconnect the cruise control actuator electrical connector.

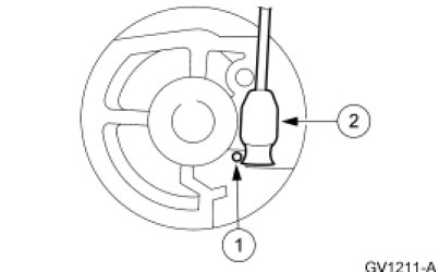
2. Remove the cruise control cable cap from the cruise control actuator.
- Push in the locking arm on the cruise control cable cap and rotate the cap counterclockwise.





3. Remove the cruise control cable.

1. Press the spring retainer.

2. Slide the core wire end out of the cruise control actuator pulley and remove the cruise control cable.





4. Remove the bolt and the cruise control actuator and bracket assembly.
- To install, tighten to 11 Nm (97 lb-in).

5. Remove the 3 bolts and separate the cruise control actuator bracket from the cruise control actuator.
- To install, tighten to 9 Nm (80 lb-in).





6. NOTE: Make sure the rubber seal is fully seated onto the cruise control cable cap.

To install, reverse the removal procedure.