Operation CHARM: Car repair manuals for everyone.
Manuals through 2025 now available!

Our trusted friends have launched a new website named LEMON, which has newer manuals. It also contains all the CHARM manuals.

LEMON is the spiritual successor to CHARM, I recommend you try it!

Link: lemon-manuals.la or lemon-manuals.org.ua

(Some people have issue connecting. LEMON is investigating. For now, use Firefox or change your DNS server)

Or, hide this message: temporarily or permanently

Engine - Installation




Engine










1. NOTE: Lubricate the torque converter pilot hub with multi-purpose grease.

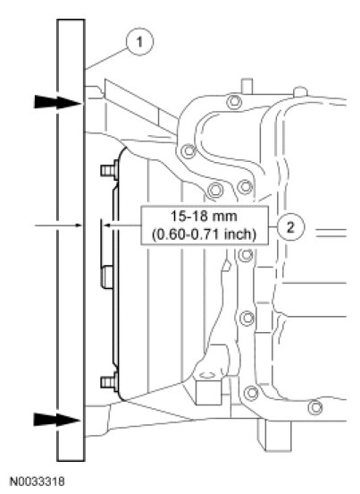
Check the installation depth of the torque converter.

1. Lay a straightedge on the automatic transaxle flange.

2. Check the installation depth between the transaxle flange and the torque converter centering spigot for the correct clearance.





2. Using the Heavy Duty Floor Crane and Spreader Bar, position the engine and transaxle together. Install the 6 bellhousing-to-engine fasteners.
- Tighten to 48 Nm (35 lb-ft).

3. Using the Heavy Duty Floor Crane, Engine Lifting Bracket and Spreader Bar, raise the engine and transaxle assembly onto the lift table.





4. Using the Powertrain Lift and Universal Adapter Brackets, secure the engine and transaxle assembly to the lift table.






5. NOTE: If new parts are not being used, be sure to align the marks on the flexplate and the stud made during engine removal.

Install the 4 torque converter nuts.

- Tighten to 35 Nm (26 lb-ft).





6. Install the starter motor isolator.





7. Install the starter motor, stud bolt and the bolt.
- Install the upper bolt and lower stud bolt finger-tight.

- Tighten the upper bolt to 35 Nm (26 lb-ft).

- Tighten the lower stud bolt to 35 Nm (26 lb-ft).





8. Connect the starter motor electrical terminals and install the 2 nuts.
- Tighten the small nut to 5 Nm (44 lb-in).

- Tighten the large nut to 12 Nm (106 lb-in).





9. Position the 2 power steering tubes and the wiring harness as an assembly on the engine.





10. Install the power steering tube bracket on the A/C compressor stud bolt and install the nut.
- Tighten to 20 Nm (177 lb-in).





11. Install the engine ground wire and the bolt.
- Tighten to 48 Nm (35 lb-ft).





12. Install the power steering tube bracket on the starter motor stud bolt and install the nut.
- Tighten to 20 Nm (177 lb-in).





13. Attach the starter wire harness retainer to the starter motor stud bolt.





14. Connect the Crankshaft Position (CKP) sensor electrical connector.





15. Attach the 2 CKP sensor wire harness retainers.





16. Attach the wire harness pin-type retainer to the intake manifold.





17. Connect the Power Steering Pressure (PSP) switch electrical connector.





18. Connect the A/C compressor electrical connector.





19. Connect the 2 transaxle electrical connectors.





20. Connect the Turbine Shaft Speed (TSS) sensor electrical connector.





21. Connect the Output Shaft Speed (OSS) sensor electrical connector.





22. Position the Heated Oxygen Sensor (HO2S) and Catalyst Monitor Sensor (CMS) wire connector bracket and install the nut.
- Tighten to 25 Nm (18 lb-ft).





23. Install the nut for the HO2S and CMS wire connector bracket.
- Tighten to 25 Nm (18 lb-ft).





24. Using the lift table, position the engine and transaxle assembly in the vehicle.

25. Install the transaxle mount plate and the 5 nuts.
- Tighten the center nut to 150 Nm (111 lb-ft).

- Tighten the 4 outer nuts to 48 Nm (35 lb-ft).





26. Install the engine mount and the 3 bolts.
- Tighten to 48 Nm (35 lb-ft).





27. Install the 2 motor mount nuts.
- Tighten to 90 Nm (66 lb-ft).





28. Install the 2 oil pan-to-bellhousing bolts.
- Tighten to 48 Nm (35 lb-ft).





29. Install the 2 lower bellhousing-to-oil pan bolts.
- Tighten to 48 Nm (35 lb-ft).






30. NOTE: The bolts are different lengths, make sure the bolts are in the correct location.

Install the transaxle roll restrictor and the 2 bolts.

1. Install the transaxle roll restrictor.

2. Install the short bolt.

3. Install the long bolt.
- Tighten to 70 Nm (52 lb-ft).





31. Install the transaxle fluid indicator.





32. Connect the heater hose to the coolant tube.





33. Connect the upper radiator hose and the heater hose to the coolant bypass.





34. Connect the coolant degas bottle vent hose to the coolant bypass.





35. Connect the coolant degas bottle hose and install the retaining clip.





36. Install the power steering pump. For additional information, refer to Steering.

37. Clean and inspect the exhaust manifold flange. For additional information, refer to Exhaust Manifold Cleaning and Inspection in Engine.

38. Install the exhaust manifold. For additional information, refer to Exhaust Manifold Removal and Replacement.

39. Connect the power steering cooler tube.





40. Using 2 new O-ring seals, install the power steering tubes to the steering gear and install the bolt.
- Tighten to 18 Nm (159 lb-in).





41. Install the power steering tube clip and the bolt.
- Tighten to 10 Nm (89 lb-in).





42. Install the LH and RH halfshafts. For additional information, refer to Drive Axles, Bearings and Joints.

43. NOTE: Lubricate the engine oil filter gasket with clean engine oil prior to installing the oil filter.

Install a new engine oil filter.

- Tighten the oil filter three-fourths turn after the oil filter gasket makes contact with the oil filter adapter.





44. Connect the lower radiator hose to the radiator.





45. Install the cooling fan motor and shroud. For additional information, refer to Cooling System &/or Engine Block Heater.

46. Using 2 new O-ring seals, connect the A/C tubes to the compressor.





47. Install the 2 A/C tube-to-compressor nuts.
- Tighten to 15 Nm (133 lb-in).





48. Position and attach the 2 B+ battery cable wire harness retainers.





49. Install the generator. For additional information, refer to Charging System.

50. Install the accessory drive belt and tensioner. For additional information, refer to Drive Belts, Mounts, Brackets and Accessories.

51. Install the 2 front wheels and tires. For additional information, refer to Wheels and Tires.

52. Install the engine oil level indicator.





53. Install the transmission fluid cooler tubes on the transaxle and slide the latches to the locked position.





54. Install the secondary latches.





55. Connect the transaxle shift cable to the lever and bracket.





56. Connect the Heated Oxygen Sensor (HO2S) and Catalyst Monitor Sensor (CMS) electrical connectors and attach the wire harness retainer.





57. Connect the starter wire harness electrical connector.





58. Connect the 3 PCM electrical connectors.





59. Install the ground wire and nut on the negative battery terminal.
- Tighten to 10 Nm (89 lb-in).





60. Attach the engine harness to the coolant outlet bracket harness retainer.





61. Connect and attach the 2 engine harness electrical connectors.





62. Install the power brake booster vacuum tube into the quick connect fitting.





63. Position and connect the Evaporative Emission (EVAP) tube. For additional information, refer to Fuel Delivery and Air Induction.





64. Connect the fuel tube quick connect coupling to the fuel tube near the bulkhead. For additional information, refer to Fuel Delivery and Air Induction.





65. Install the negative battery cable ground and the bolt.
- Tighten to 10 Nm (89 lb-in).





66. Attach the 3 positive battery cable wire harness retainer.





67. Connect the positive battery cable nut.
- Tighten to 10 Nm (89 lb-in).





68. Install the battery tray. For additional information, refer to Battery.

69. Connect the crankcase vent tube to the valve cover.





70. Install the Air Cleaner (ACL) and ACL outlet pipe. For additional information, refer to Fuel Delivery and Air Induction.

71. Fill the engine with clean engine oil.

72. Fill and bleed the cooling system. For additional information, refer to Cooling System &/or Engine Block Heater.

73. Evacuate and charge the A/C system. For additional information, refer to Heating and Air Conditioning.

74. Install the splash shield, pin-type retainer and the 2 bolts.