Operation CHARM: Car repair manuals for everyone.
Manuals through 2025 now available!

Our trusted friends have launched a new website named LEMON, which has newer manuals. It also contains all the CHARM manuals.

LEMON is the spiritual successor to CHARM, I recommend you try it!

Link: lemon-manuals.la or lemon-manuals.org.ua

(Some people have issue connecting. LEMON is investigating. For now, use Firefox or change your DNS server)

Or, hide this message: temporarily or permanently

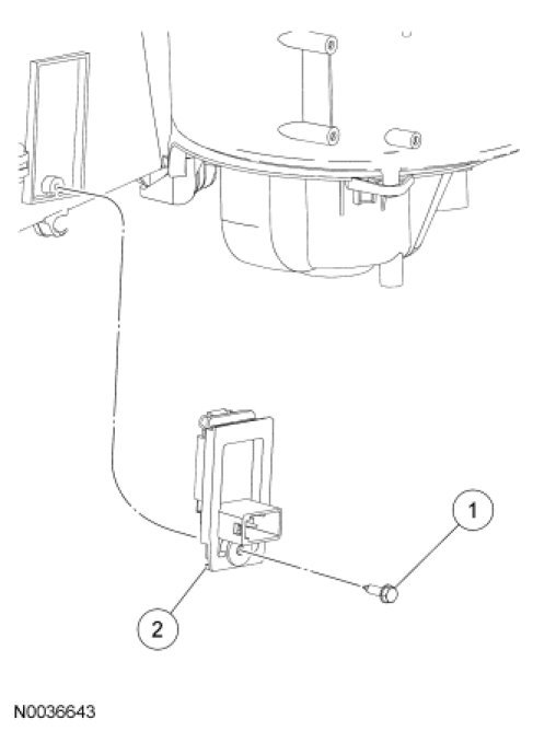
Blower Motor Resistor: Service and Repair




Blower Motor Resistor









Removal and Installation

1. Lower the glove compartment.

2. Disconnect the blower motor resistor electrical connector.

3. Remove the blower motor resistor.

1. Disconnect the blower motor resistor electrical connector.

2. Remove the blower motor resistor screw.

3. Detach and remove the blower motor resistor.





4. To install, reverse the removal procedure.