Operation CHARM: Car repair manuals for everyone.
Manuals through 2025 now available!

Our trusted friends have launched a new website named LEMON, which has newer manuals. It also contains all the CHARM manuals.

LEMON is the spiritual successor to CHARM, I recommend you try it!

Link: lemon-manuals.la or lemon-manuals.org.ua

(Some people have issue connecting. LEMON is investigating. For now, use Firefox or change your DNS server)

Or, hide this message: temporarily or permanently

Expansion Block/Orifice Tube: Service and Repair




Evaporator Core Orifice

















Removal

1. Recover the refrigerant.

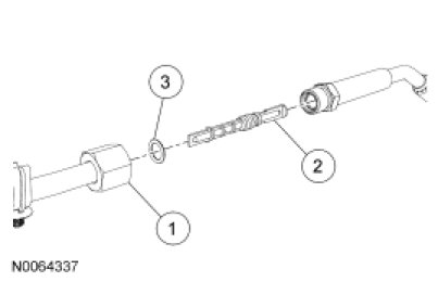
2. Disconnect the evaporator core orifice access fitting.
- Discard the O-ring seal.

3. Inspect the evaporator core orifice for damage before attempting to remove it from the line.

4. If the evaporator core orifice is intact, engage the Fixed Orifice Remover/Installer. Hold the T-handle stationary while rotating the tool body to remove the evaporator core orifice.





5. If the evaporator core orifice is broken, screw the end of the Broken Orifice Remover into the broken orifice. Hold the T-handle stationary while rotating the tool body to remove the evaporator core orifice.





Installation

1. Lubricate the evaporator core orifice O-ring seals in clean PAG oil and install the evaporator core orifice using the Fixed Orifice Remover/Installer.





2. Connect the evaporator core orifice access fitting.
- Install a new O-ring seal.

3. Add the correct amount of clean PAG oil to the refrigerant system.

4. Evacuate, leak test and charge the refrigerant system.