Operation CHARM: Car repair manuals for everyone.
Manuals through 2025 now available!

Our trusted friends have launched a new website named LEMON, which has newer manuals. It also contains all the CHARM manuals.

LEMON is the spiritual successor to CHARM, I recommend you try it!

Link: lemon-manuals.la or lemon-manuals.org.ua

(Some people have issue connecting. LEMON is investigating. For now, use Firefox or change your DNS server)

Or, hide this message: temporarily or permanently

Pinpoint Test Q: DTC B1925




Air Bag and Safety Belt Pretensioner Supplemental Restraint System (SRS)

Pinpoint Tests

Pinpoint Test Q: DTC B1925

Normal Operation

The Restraints Control Module (RCM) continuously monitors the passenger air bag module stage 1 and circuits for the following faults:

- Resistance out of range
- Unexpected voltage
- Short to ground
- Faulted passenger air bag module

If a fault is detected, the RCM will store DTC B1925 in memory and send a message to the Instrument Cluster (IC) module to illuminate the air bag warning indicator.

- DTC B1925 (Air Bag Passenger Circuit Short to Battery) - When the RCM senses a short to voltage on either passenger air bag stage 1 circuit, a fault will be indicated.

This pinpoint test is intended to diagnose the following:
- Wiring, terminals or connectors
- Passengers air bag module
- RCM



PINPOINT TEST Q: DTC B1925

WARNING: Never probe the electrical connectors on air bag, Safety Canopy(R) or side air curtain modules. Failure to follow this instruction may result in the accidental deployment of these modules, which increases the risk of serious personal injury or death.

NOTICE: Use the correct probe adapter(s) from the Flex Probe Kit when taking measurements. Failure to use the correct probe adapter(s) may damage the connector.

Most faults are due to connector and/or wiring concerns. Carry out a thorough inspection and verification before proceeding with the pinpoint test.
Inspection and Verification

NOTE: Supplemental Restraint System (SRS) components should only be disconnected or reconnected when instructed to do so within a pinpoint test step. Failure to follow this instruction may result in incorrect diagnosis of the SRS.

NOTE: The SRS must be fully operational and free of faults before releasing the vehicle to the customer.

-------------------------------------------------
Q1 RETRIEVE RCM DTCs


NOTE: All RCM diagnosis will be carried out using Continuous Memory Diagnostic Trouble Codes (CMDTCs) and status information. Refer to DTC Fault Reporting and Status Information. DTC Fault Reporting and Status Information

- Ignition ON.
- Enter the following diagnostic mode on the scan tool: Self Test - RCM.
- Select the DTC and view DTC Status information.
- Does the status information for DTC B1925 indicate a fault was present at the time of request?

Yes
This fault cannot be cleared until it is corrected and the DTC Status information indicates the fault is no longer present.

GO to Q2.

No
This is an intermittent fault. The DTC Status information indicates the fault was not present at time of request. GO to Q4.

-------------------------------------------------
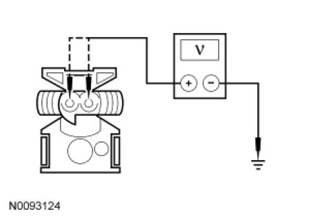
Q2 CHECK THE PASSENGER AIR BAG STAGE 1 CIRCUITS FOR A SHORT TO VOLTAGE


- Ignition OFF.
- Depower the system. Refer to Supplemental Restraint System (SRS) Depowering and Repowering Supplemental Restraint System (SRS) Depowering and Repowering.
- Disconnect passenger air bag module C256A and C256B:
- remove the passenger air bag module and disconnect. Refer to Passenger Air Bag Module Passenger Air Bag Module.
- Disconnect: RCM C310A and C310B.
- Repower the system. Do not prove out the system at this time. Refer to Supplemental Restraint System (SRS) Depowering and Repowering Supplemental Restraint System (SRS) Depowering and Repowering.
- Ignition ON.
- Measure the voltage between passenger air bag module:
- C256A-1, circuit 15S-JA31 (GN/WH), harness side and ground.
- C256A-2, circuit 91S-JA31 (BK/WH), harness side and ground.




- Is voltage present on either circuit?

Yes
REPAIR circuit 15S-JA31 (GN/WH) or 91S-JA31 (BK/WH). GO to Q6.

No
GO to Q3.

-------------------------------------------------
Q3 CONFIRM THE RCM FAULT


NOTE: Make sure all restraint system components and the RCM electrical connectors are connected before carrying out the self-test. If not, DTCs will be recorded.

- Ignition OFF.
- Depower the SRS. Refer to Supplemental Restraint System (SRS) Depowering and Repowering Supplemental Restraint System (SRS) Depowering and Repowering.
- Prior to reconnecting any previously disconnected SRS component:
- inspect connector(s) (including any in-line connectors) for pushed-out, loose or spread terminals and loose or frayed wire connections at terminals.
- inspect wire harness for any damage, pinched, cut or pierced wires.
- inspect RCM C310A and C310B Connector Position Assurance (CPA) lever/lock for correct operation. Refer to Restraints Control Module (RCM) Service and Repair.
- repair any concerns found.
Refer to Wiring Diagram Set 5, Connector Repair Procedures for schematic and connector information. Diagrams By Number

- Connect: RCM C310A and C310B .
- Connect: Passenger Air Bag Module C256A and C256B.
- Repower the SRS. Do not prove out the SRS at this time. Refer to Supplemental Restraint System (SRS) Depowering and Repowering Supplemental Restraint System (SRS) Depowering and Repowering.
- Ignition ON.
- Enter the following diagnostic mode on the scan tool: Self Test - RCM.
- Select the DTC and view DTC Status information.
- Does the status information for DTC B1925 indicate a fault was present at the time of request?

Yes
INSTALL a new RCM. REFER to Restraints Control Module (RCM) Service and Repair. GO to Q6.

No
In the process of diagnosing the fault, the fault condition has become intermittent. Do not install any new SRS components at this time. SRS components should only be installed when directed to do so in the pinpoint test. GO to Q4.

-------------------------------------------------
Q4 CHECK FOR AN INTERMITTENT FAULT


- Ignition OFF.
- Depower the SRS. Refer to Supplemental Restraint System (SRS) Depowering and Repowering Supplemental Restraint System (SRS) Depowering and Repowering.
- Disconnect passenger air bag module C256A and C256B:
- remove the passenger air bag module and disconnect. Refer to Passenger Air Bag Module Passenger Air Bag Module.
- Disconnect: RCM C310A and C310B.
- Inspect for the following:
- inspect harness and component connectors for loose or spread terminals and loose or frayed wire connections at terminals.
- inspect wire harness for any damage, pinched, cut or pierced wires.
- inspect RCM C310A and C310B Connector Position Assurance (CPA) lever/lock for correct operation. Refer to Restraints Control Module (RCM) Service and Repair.
- repair any concerns found.
Refer to Wiring Diagram Set 5, Connector Repair Procedures for schematic and connector information. Diagrams By Number

- Connect: All Previously Disconnected Component(s)/Connector(s).
- Repower the SRS. Do not prove out the SRS at this time.
Refer to Supplemental Restraint System (SRS) Depowering and Repowering Supplemental Restraint System (SRS) Depowering and Repowering.
- Ignition ON.
- Enter the following diagnostic mode on the scan tool: Self Test - RCM.
- Select the DTC and view DTC Status information.
- Does the status information for DTC B1925 indicate a fault was present at the time of request?

Yes
The fault condition is now present. Do not clear any DTCs until all DTC concerns have been resolved.

GO to Q2.

No
The fault is not present and cannot be recreated at this time. Do not install any new SRS components at this time. SRS components should only be installed when directed to do so in the pinpoint test. GO to Q5.

-------------------------------------------------
Q5 CHECK THE HARNESS AND CONNECTORS


- Ignition OFF.
- Depower the SRS. Refer to Supplemental Restraint System (SRS) Depowering and Repowering Supplemental Restraint System (SRS) Depowering and Repowering.
- If not previously disconnected, remove passenger air bag module and disconnect C256A and C256B. Refer to Passenger Air Bag Module Passenger Air Bag Module.
- inspect connector(s) (including any in-line connectors) for corrosion, loose or spread terminals and loose or frayed wire connections at terminals.
- inspect wire harness for any damage, pinched, cut or pierced wires.
- inspect RCM C310A and C310B CPA lever/lock for correct operation. Refer to Restraints Control Module (RCM) Service and Repair.
- Were any concerns found?

Yes
REPAIR as necessary.
Refer to Wiring Diagram Set 5, Connector Repair Procedures for schematic and connector information. Diagrams By Number
GO to Q6.

No
The fault is not present and cannot be recreated at this time. Do not install any new SRS components at this time. SRS components should only be installed when directed to do so in the pinpoint test. GO to Q6.

-------------------------------------------------
Q6 CHECK FOR ADDITIONAL SRS DTCs


- Ignition OFF.
- WARNING: Turn the ignition OFF and wait one minute to deplete the backup power supply. Failure to follow this instruction may result in serious personal injury or death in the event of an accidental deployment.
- Reconnect all SRS components (if previously disconnected).
- If previously directed to depower the SRS, repower the SRS. Do notprove out the SRS at this time. Refer to Supplemental Restraint System (SRS) Depowering and Repowering Supplemental Restraint System (SRS) Depowering and Repowering.
- Ignition ON.
- Enter the following diagnostic mode on the scan tool: Self Test - Restraints.
- NOTE: When selecting Restraints from the Self Test menu, DTCs will be retrieved from the RCM and OCSM.
- Select the DTC and view DTC Status information.
- Does the status information for any RCM DTC indicate a fault is present and/or are any OCSM on-demand DTCs retrieved?

Yes
Do not clear any DTCs until all DTC concerns have been resolved. GO to the DTC Charts for pinpoint test direction. Diagnostic Trouble Code Tests and Associated Procedures

No
CLEAR all RCM and OCSM CMDTCs. PROVE OUT the SRS. Repair is complete. RETURN the vehicle to the customer.

-------------------------------------------------