Operation CHARM: Car repair manuals for everyone.
Manuals through 2025 now available!

Our trusted friends have launched a new website named LEMON, which has newer manuals. It also contains all the CHARM manuals.

LEMON is the spiritual successor to CHARM, I recommend you try it!

Link: lemon-manuals.la or lemon-manuals.org.ua

(Some people have issue connecting. LEMON is investigating. For now, use Firefox or change your DNS server)

Or, hide this message: temporarily or permanently

Automatic Transmission/Transaxle: Adjustments




Selector Lever Cable Adjustment


Adjustment

1. With the vehicle in NEUTRAL, position it on a hoist. For additional information, refer to Vehicle Jacking and Lifting.

2. Move the selector lever to the DRIVE position.





3. Disconnect the selector lever cable end from the manual control lever.





4. Unlock the selector lever cable end. Make sure that the selector lever cable end moves freely.





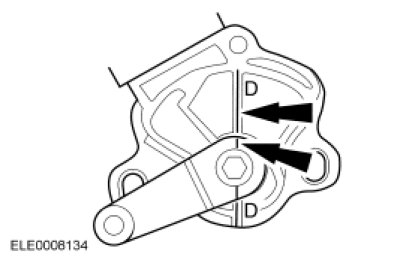
5. NOTE: The Transmission Range (TR) sensor mark must be in line with the manual control lever.

Move the manual control lever to DRIVE position (TR sensor removed for clarity).





6. NOTE: When installing the selector lever cable, make sure that the selector lever cable locking tabs are locked in place and the selector lever cable end is snapped onto the ball stud. Press the selector lever cable into the selector lever cable bracket and listen for the selector lever cable to click in place. Pull back on the selector lever cable to make sure that it is locked into the selector lever cable bracket. Also make sure that the selector lever cable end is correctly installed onto the ball stud. Pull back on the selector lever cable end to make sure that the selector lever cable end is correctly installed.

Connect the selector lever cable end of the manual control lever.





7. Press the lock tab down to secure the selector lever cable end from moving.





8. Check to make sure that the vehicle starts in PARK and NEUTRAL and the reverse lamps illuminate in REVERSE.