Operation CHARM: Car repair manuals for everyone.
Manuals through 2025 now available!

Our trusted friends have launched a new website named LEMON, which has newer manuals. It also contains all the CHARM manuals.

LEMON is the spiritual successor to CHARM, I recommend you try it!

Link: lemon-manuals.la or lemon-manuals.org.ua

(Some people have issue connecting. LEMON is investigating. For now, use Firefox or change your DNS server)

Or, hide this message: temporarily or permanently

Transaxle Installation




Transaxle









Installation

1. NOTE: Lubricate the torque converter pilot hub with multi-purpose grease.

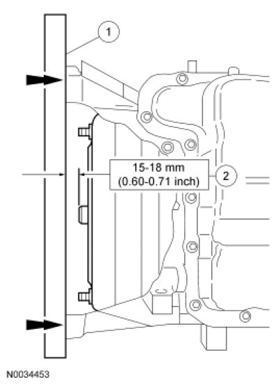
Check the installation depth of the torque converter.

1. Lay a steel straightedge on the automatic transaxle flange.

2. Check the installation depth between the transaxle flange and the torque converter centering spigot for the correct clearance.





2. Install the selector lever cable bracket and the 2 bolts.
- Tighten to 25 Nm (18 lb-ft).





3. Install the transaxle support insulator bracket and 3 nuts.
- Tighten to 80 Nm (59 lb-ft).





4. If the transaxle was replaced, install the transaxle opening cover.





5. Remove the Torque Converter Retainer.





6. NOTICE: Make sure that the dowel pins are installed in the engine block prior to installing the transaxle or damage to the transaxle can occur.

Position the transaxle in place on the dowel pins.

7. Note the location of the different length bolts and install the 5 transaxle-to-engine bolts and studbolt.
- Tighten to 47 Nm (35 lb-ft).





8. Install the 2 transaxle-to-engine bolts.
- Tighten to 47 Nm (35 lb-ft).





9. Remove the transmission jack and the safety strap from the transaxle.

10. Using the Engine Support Bar, Engine Lifting Bracket and Adapters, raise the engine and transaxle assembly slightly to install the transaxle support insulator.





11. Install the transaxle support insulator nuts.

1. Install the 4 transaxle support insulator-to-body nuts.
- Tighten to 48 Nm (35 lb-ft).

2. Install the transaxle support insulator-to-bracket nut.
- Tighten to 150 Nm (111 lb-ft).





12. Remove the Engine Support Bar, Engine Lifting Bracket and Adapters.





13. Install the transmission fluid cooler tubes on the transaxle and slide the latches to the locked position.





14. Install the 2 upper transaxle-to-engine bolts.
- Tighten to 47 Nm (35 lb-ft).





15. Position the electrical connector bracket and install the nut.
- Tighten to 25 Nm (18 lb-ft).





16. Install the electrical connector bracket nut.
- Tighten to 25 Nm (18 lb-ft).





17. Connect the Output Shaft Speed (OSS) sensor electrical connector.





18. NOTICE: The roll restrictor bolts are different lengths. If the long bolt is used to hold the roll restrictor to the subframe, damage to the steering rack may occur.

Install the engine roll restrictor.

1. Position the roll restrictor in place and loosely install the bolt.

2. Install the bolt. Tighten both roll restrictor bolts.
- Tighten to 70 Nm (52 lb-ft).





19. NOTICE: Only rotate the engine in a clockwise direction or engine damage will occur.

NOTE: Only install new self-locking nuts.

Install 4 new torque converter-to-flexplate nuts.

- Tighten to 40 Nm (30 lb-ft).





20. Install the starter motor isolator.





21. Install the starter motor. For additional information, refer to Starting System.

22. Install the RH intermediate shaft, LH and RH halfshafts in the transaxle. For additional information, refer to Drive Axles, Bearings and Joints.

23. Install the front wheels and tires. For additional information, refer to Wheels and Tires.

24. NOTE: Inspect the transaxle filler tube O-ring for damage before installing the transaxle filler tube.

Install the transaxle filler tube and bolt.

- Tighten to 8 Nm (71 lb-in).





25. Install the power steering hose retainers and the wiring harness retainer on the transaxle filler tube.





26. Install the transmission fluid level indicator.





27. Connect the bottom PCM electrical connector.





28. Connect the throttle control electrical connector.





29. Install the selector lever cable in the selector lever cable clip.





30. Install the selector lever cable in the selector lever cable bracket.





31. Connect the selector lever cable end onto the manual control lever.





32. Install the transaxle filler tube bolt.
- Tighten to 8 Nm (71 lb-in).





33. Connect the Turbine Shaft Speed (TSS) sensor electrical connector.





34. NOTE: The Transmission Range (TR) connector seal is a high compression type and requires a "press to click" installation for a weatherproof seal.

Connect the electrical connectors.

1. TR sensor.

2. Transaxle solenoid electrical connector.





35. Install the ACL and outlet pipe assembly. For additional information, refer to Fuel Delivery and Air Induction.

36. Install the battery tray and battery. For additional information, refer to Battery.

37. Fill the transaxle with clean transmission fluid.