Operation CHARM: Car repair manuals for everyone.
Manuals through 2025 now available!

Our trusted friends have launched a new website named LEMON, which has newer manuals. It also contains all the CHARM manuals.

LEMON is the spiritual successor to CHARM, I recommend you try it!

Link: lemon-manuals.la or lemon-manuals.org.ua

(Some people have issue connecting. LEMON is investigating. For now, use Firefox or change your DNS server)

Or, hide this message: temporarily or permanently

Pinpoint Test B: O/D Does Not Operate Correctly




External Controls

Pinpoint Tests

PINPOINT TEST B: O/D DOES NOT OPERATE CORRECTLY

NOTE: Refer to the Electrical Connectors illustration preceding these pinpoint tests. Electrical Connectors

NOTE: Read and record all DTCs.

-------------------------------------------------
B1 CHECK CIRCUIT 15-TA21 (GN/BK) FOR VOLTAGE


- Ignition ON.
- Measure circuit 15-TA21 (GN/BK) for voltage at selector lever C383-5.




- Is the voltage greater than 10 volts?

Yes
GO to B2.

No
REPAIR circuit 15-TA21 (GN/BK) for open. TEST the system for normal operation.

-------------------------------------------------
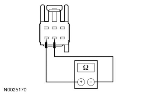
B2 TEST THE O/D SWITCH


- Measure the resistance between range selector lever unit C383 pin 5 and pin 6 with the Overdrive (O/D) switch pressed and released.




- Is the resistance less than 5 ohms when pressed and greater than 10,000 ohms when released?

Yes
GO to B3.

No
CHECK the selector lever harness for broken or damaged wires. If harness is OK, INSTALL a new selector lever knob.

-------------------------------------------------
B3 CHECK CIRCUIT 15S-TA21 (GN/BK) FOR A SHORT TO GROUND


- Disconnect: PCM C175B.
- Inspect for damaged or pushed-out pins, corrosion or loose wires. Repair as necessary.
- Measure circuit 15S-TA21 (GN/BK) for resistance to ground at PCM C175B, pin 30.
- Is the resistance greater than 10,000 ohms?

Yes
GO to B4.

No
REPAIR circuit 15S-TA21 (GN/BK) for a short to ground. TEST the system for normal operation.

-------------------------------------------------
B4 CHECK CIRCUIT 15S-TA21 (GN/BK) FOR AN OPEN


- Measure the resistance of circuit 15S-TA21 (GN/BK) between PCM C175B-30 and selector lever C383-6.




- Is the resistance less than 5 ohms?

Yes
INSTALL a new PCM. TEST the system for normal operation.

No
REPAIR circuit 15S-TA21 (GN/BK) for open. TEST the system for normal operation.

-------------------------------------------------