Solenoid Body Assembly
Solenoid Body Assembly
Solenoid Body (Part 1):
Disassembly
1. NOTICE: The solenoid body should be handled with care or damage to the solenoid body may occur.
NOTICE: Do not handle the solenoid body in the leadframe area or by the screens of the solenoid body filter or damage to the solenoid body may occur.
NOTICE: Use care not to break the alignment tabs when installing the solenoid body filter. Damage to the transaxle will occur if the solenoid body is not correctly aligned.
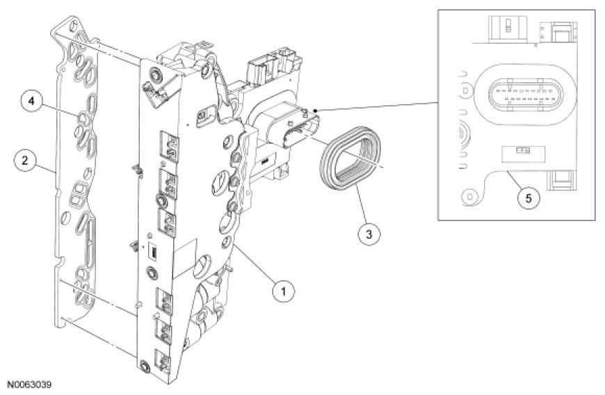
Remove the solenoid body filter assembly by pulling it straight up from the alignment tabs. Discard the filter.
2. Remove and discard the solenoid body assembly electrical connector seal.
3. Clean and inspect the solenoid body assembly for damage and install new if necessary.
Assembly
1. Install a new solenoid body assembly electrical connector seal.
2. NOTICE: Do not handle the solenoid body in the leadframe area or by the screens of the solenoid body filter or damage to the solenoid body may occur.
NOTICE: Use care not to break the alignment tabs when installing the solenoid body filter. Damage to the transaxle will occur if the solenoid body is not correctly aligned.
NOTICE: Make sure that the filter passage areas are clean of foreign material before installing the filter. Damage to the transaxle will occur if the filter passages are not clean.
Install a new solenoid body filter assembly by pushing it straight down onto the alignment tabs.