Operation CHARM: Car repair manuals for everyone.
Manuals through 2025 now available!

Our trusted friends have launched a new website named LEMON, which has newer manuals. It also contains all the CHARM manuals.

LEMON is the spiritual successor to CHARM, I recommend you try it!

Link: lemon-manuals.la or lemon-manuals.org.ua

(Some people have issue connecting. LEMON is investigating. For now, use Firefox or change your DNS server)

Or, hide this message: temporarily or permanently

Automatic Transmission/Transaxle: Adjustments




Selector Lever Cable Adjustment

1. NOTICE: The ignition must be in the OFF position to make sure that the Electronically Controlled Continuously Variable Transmission (eCVT) and the engine are OFF.

With vehicle in NEUTRAL, position it on a hoist. For additional information, refer to Jacking and Lifting Service and Repair.

2. Place the selector lever in the D position.





3. Remove the bolts and the splash shield.





4. Disconnect the selector lever cable end from the manual control lever.





5. Place the manual control lever in the D position.

1. Rotate the manual control lever counterclockwise to the PARK position.

2. Rotate the manual control lever clockwise 3 detents to the D position.





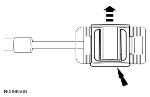
6. Unlock the adjuster by sliding the locking tab over.





7. Align the selector lever cable end to the manual control lever ball stud and install it with the adjuster unlocked.





8. Slide the selector lever cable adjuster tab in place to lock the selector lever cable.





9. Verify that the vehicle starts in PARK and NEUTRAL only and that the reverse lamps illuminate in REVERSE.

10. Install the splash shield and the bolts.