Operation CHARM: Car repair manuals for everyone.
Manuals through 2025 now available!

Our trusted friends have launched a new website named LEMON, which has newer manuals. It also contains all the CHARM manuals.

LEMON is the spiritual successor to CHARM, I recommend you try it!

Link: lemon-manuals.la or lemon-manuals.org.ua

(Some people have issue connecting. LEMON is investigating. For now, use Firefox or change your DNS server)

Or, hide this message: temporarily or permanently

Pinpoint Test A: All Power Windows are Inoperative




Glass, Frames and Mechanisms

Pinpoint Tests

Pinpoint Test A: All Power Windows are Inoperative

Refer to Wiring Diagram Set 100, Power Windows for schematic and connector information. Diagrams By Number

Normal Operation

Under normal operation, voltage is supplied to the accessory relay coil and switch internally through the Smart Junction Box (SJB). The SJB controls the coil side ground of the accessory relay and activates the accessory relay when the ignition switch is in the ON position. The driver window control switch is supplied voltage through circuit CPW30 (GY/YE). Ground for the switch is provided through circuit GD175 (BK/BU).

- DTC B1302 (Accessory Delay Relay Coil Circuit Failure) - Sets when an open or short to ground is detected on the relay control circuit.
- DTC B1304 (Accessory Delay Relay Coil Circuit Short to Battery) - Sets when a short to voltage is detected on the relay control circuit.

This pinpoint test is intended to diagnose the following:
- Fuse
- Accessory relay
- Wiring, terminals or connectors
- Driver window control switch
- SJB

PINPOINT TEST A: ALL POWER WINDOWS ARE INOPERATIVE

NOTICE: Use the correct probe adapter(s) from the Flex Probe Kit when making measurements. Failure to use the correct probe adapter(s) may damage the connector.

-------------------------------------------------
A1 VERIFY THE PASSENGER WINDOW OPERATES FROM THE PASSENGER WINDOW CONTROL SWITCH

- Ignition ON.
- Attempt to operate the passenger power window from the passenger window control switch.
- Does the passenger power window operate?

Yes
GO to Pinpoint Test B to diagnose the inoperative driver window. Pinpoint Test B: A Single Power Window is Inoperative - Driver Power Window

No
GO to A2.

-------------------------------------------------
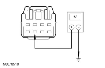
A2 CHECK THE VOLTAGE TO THE DRIVER WINDOW CONTROL SWITCH

- Ignition OFF.
- Disconnect: Driver Window Control Switch C504.
- Ignition ON.
- Measure the voltage between driver window control switch C504-7, circuit CPW30 (GY/YE) harness side and ground.




- Is the voltage greater than 10 volts?

Yes
GO to A3.

No
GO to A4.

-------------------------------------------------
A3 CHECK THE GROUND TO THE DRIVER WINDOW CONTROL SWITCH

- Ignition OFF.
- Measure the resistance between driver window control switch C504-2, circuit GD175 (BK/BU) harness side and ground.




- Is the resistance less than 5 ohms?

Yes
INSTALL a new driver window control switch. TEST the system for normal operation.

No
REPAIR circuit GD175 (BK/BU) for an open. TEST the system for normal operation.

-------------------------------------------------
A4 CHECK ACCESSORY RELAY SUPPLY VOLTAGE

- Ignition OFF.
- Disconnect: Accessory Relay.
- Ignition ON.
- Measure the voltage between accessory relay socket pin 85 and ground; and between accessory relay socket pin 30 and ground.




- Are both voltages greater than 10 volts?

Yes
GO to A5.

No
VERIFY SJB fuse 16 (30A) is OK.

If OK, GO to A5.

If not OK, REFER to the Wiring Diagrams to identify the possible causes of the circuit short. REPAIR the circuit. TEST the system for normal operation. Diagrams By Number

-------------------------------------------------
A5 CHECK THE ACCESSORY RELAY

- Ignition OFF.
- Carry out the accessory relay component test.
Refer to Accessory Delay Relay for component testing. Diagrams By Number

- Did the accessory relay pass the component test?

Yes
GO to A6.

No
INSTALL a new accessory relay. TEST the system for normal operation.

-------------------------------------------------
A6 CHECK FOR CORRECT SJB OPERATION

- Disconnect all SJB electrical connectors.
- Check for:
- corrosion.
- pushed-out pins.

- Connect all SJB connectors and make sure they seat correctly.
- Operate the system and verify the concern is still present.
- Is the concern still present?

Yes
INSTALL a new SJB. TEST the system for normal operation.

No
The system is operating correctly at this time. Concern may have been caused by a loose or corroded connector.

-------------------------------------------------