Operation CHARM: Car repair manuals for everyone.
Manuals through 2025 now available!

Our trusted friends have launched a new website named LEMON, which has newer manuals. It also contains all the CHARM manuals.

LEMON is the spiritual successor to CHARM, I recommend you try it!

Link: lemon-manuals.la or lemon-manuals.org.ua

(Some people have issue connecting. LEMON is investigating. For now, use Firefox or change your DNS server)

Or, hide this message: temporarily or permanently

Window Glass - Front Door




Window Glass - Front Door





Removal and Installation

NOTE: Position the window glass halfway up to gain access to the rivets.

1. Remove the front door trim panel. For additional information, refer to Interior Trim and Ornamentation Service and Repair.

2. Remove the watershield.

3. Remove the door glass channel.
- Remove the bolt.

- To install, tighten to 12 Nm (106 lb-in).

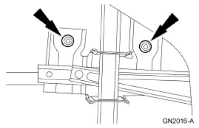
4. NOTE: Support window glass before removing the rivets.

NOTE: To remove the rivets, use a drift punch to remove the steel centers and a 6 mm (1/4 in) diameter drill bit to remove the rivets.

Remove the 2 window glass rivets.





5. Remove the front door window glass through the window opening.

6. To install, reverse the removal procedure.
- Use a Heavy Duty Riveter to install the new rivets.