Operation CHARM: Car repair manuals for everyone.
Manuals through 2025 now available!

Our trusted friends have launched a new website named LEMON, which has newer manuals. It also contains all the CHARM manuals.

LEMON is the spiritual successor to CHARM, I recommend you try it!

Link: lemon-manuals.la or lemon-manuals.org.ua

(Some people have issue connecting. LEMON is investigating. For now, use Firefox or change your DNS server)

Or, hide this message: temporarily or permanently

Pinpoint Test C: DTC P0620




Pinpoint Test





Pinpoint Test C: DTC P0620

Refer to Wiring Diagram Set 12, Charging System for schematic and connector information. Diagrams By Number

Normal Operation

The PCM monitors the generator output via the GENMON circuit. The PCM uses the GENCOM circuit to command the generator to either increase or decrease output. If the GENCOM circuit (generator control circuit) or the A sense circuit are open or shorted to ground, the PCM will be unable to control the generators output. When the engine rises above approximately 2,000 rpm, the generator will default to a steady voltage of approximately 13.5 volts and the PCM will send a request to the Instrument Cluster (IC) to illuminate the charging system warning indicator lamp.

- DTC P0620 (Generator Control Circuit) - If the GENCOM circuit or A sense circuit are open or shorted to ground the PCM will set this DTC.

This pinpoint test is intended to diagnose the following:
- Fuse
- Wiring, terminals or connectors
- Generator
- PCM

PINPOINT TEST C: DTC P0620

NOTE: Make sure battery voltage is greater than 12.2 volts prior to and during this pinpoint test.

NOTE: Do not have a battery charger attached during vehicle testing.

-------------------------------------------------
C1 CHECK THE BATTERY CONDITION

- Carry out the Battery - Condition Test Pinpoint Tests to determine if the battery can hold a charge and is OK for use. Refer to Battery, Mounting and Cables Testing and Inspection.
- Does the battery pass the condition test?

Yes
GO to C2.

No
INSTALL a new battery. REFER to Battery, Mounting and Cables Battery. CLEAR the DTCs. REPEAT the self-test. TEST the system for normal operation.

-------------------------------------------------
C2 CHECK THE GENERATOR B+ CONNECTION

- Ignition OFF.
- Inspect generator C102A connection. Connector should be installed correctly and tight. Inspect the connector for bent and/or pushed out pins.
- Inspect generator C102B, circuit SDC02 (RD). Connection should be tight.
- Measure the voltage between generator C102B, B+ circuit SDC02 (RD) and ground.




- Are the generator connections OK and does the generator B+ measure battery voltage?

Yes
GO to C3.

No
REPAIR the generator connection or circuit. CLEAR the DTCs. REPEAT the self-test. TEST the system for normal operation.

-------------------------------------------------
C3 CHECK THE VOLTAGE DROP IN THE B+ CIRCUIT

- Ignition OFF.
- Connect: Generator C102A.
- Start the engine.
- With the engine running at idle, headlamps on and blower on high, measure the voltage drop between generator B+ C102B, circuit SDC02 (RD) and the positive battery terminal.




- Is the voltage drop less than 0.5 volt?

Yes
GO to C4.

No
REPAIR the high resistance in circuit B+ SDC02 (RD) and the positive battery cable for loose connections, physical damage or wire corrosion. CLEAR the DTCs. REPEAT the self-test. TEST the system for normal operation.

-------------------------------------------------
C4 A SENSE CIRCUIT LOAD TEST

NOTICE: Use the Flex Probe Kit for all test connections to prevent damage to the wiring terminals. Do not use the test lamp probe.

NOTE: The following step uses a test light to simulate normal circuit loads. Use only the test light recommended in the Special Tools table. To avoid connector terminal damage, use the Flex Probe Kit for the test light probe connection to the vehicle. Do not use the test light probe directly on any connector.

- Disconnect: Generator C102A.
- Ignition ON.
- Using a 12-volt test lamp connected to ground, check for voltage at generator C102A-3, circuit SBB17 (RD), harness side.
- Does the test lamp illuminate?

Yes
GO to C5.

No
VERIFY Battery Junction Box (BJB) fuse 17 (10A) is OK. If OK, REPAIR circuit SBB17 (RD). If not OK, REFER to the Wiring Diagrams to identify the possible causes of the circuit short. CLEAR the DTCs. REPEAT the self-test. TEST the system for normal operation. Diagrams By Number

-------------------------------------------------
C5 CHECK THE GENERATOR COMMAND LINE FAULT (GENCMD_LF) PID

- Connect the scan tool.
- Enter the following diagnostic mode on the scan tool: Data Logger - PCM.

- NOTE: Many of the PCM PIDs selected will be monitored later in this pinpoint test.

- Select and monitor the following PCM PIDs:
- Generator Monitor (GENMON).
- Generator Command (GENCMD).
- Generator Command Line Fault (GENCMD_LF).
- With the engine still running at idle, monitor the GENCMD_LF PID.
- Does the GENMON_LF PID indicate FAULT?

Yes
GO to C6.

No
GO to C9.

-------------------------------------------------
C6 CHECK THE GENERATOR COMMAND CIRCUIT FOR A SHORT TO POWER

- Ignition OFF.
- Disconnect: Generator C102A.
- Ignition ON.
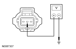
- Measure the voltage between generator C102A-2, circuit CDC10 (BU/OG), harness side and ground.




- Does voltage read 1 volt or less?

Yes
GO to C7.

No
GO to C11.

-------------------------------------------------
C7 COMPARE THE PCM PIDs GENERATOR MONITOR (GENMON) AND GENERATOR COMMAND (GENCMD)

- Ignition OFF.
- Connect a fused jumper wire between generator C102A-1, circuit CDC15 (VT), harness side and generator C102A-2, circuit CDC10 (BU/OG), harness side.




- Start the engine.
- Monitor the GENMON and GENCMD PIDs while performing a wiggle test on the generator harness.
- Does the GENMON PID read within 5% of the GENCMD PID?

Yes
GO to C8.

No
GO to C12.

-------------------------------------------------
C8 CHECK THE GENERATOR COMMAND CIRCUIT FOR DAMAGE OR AN OPEN

- Ignition OFF.
- Disconnect: PCM C175B (non- GTDI).
- Disconnect: PCM C1381B ( GTDI).
- Inspect the following harness connectors for corrosion, spread terminals, bent pins or pushed-out pins:
- PCM C175B-22 (3.5L) or C1381B-53 (3.5L Gasoline Turbocharged Direct Injection (GTDI)), circuit CDC10 (BU/OG).
- Generator C102B-2, circuit CDC10 (BU/OG).
- For non- GTDI engines, measure the resistance between PCM C175B-22, circuit CDC10 (BU/OG), harness side and generator C102A-2, circuit CDC10 (BU/OG), harness side.




- For GTDI engines, measure the resistance between PCM C1381B-53, circuit CDC10 (BU/OG), harness side and generator C102A-2, circuit CDC10 (BU/OG), harness side.




- Are the connectors and pins free of damage and is the resistance less than 5 ohms?

Yes
GO to C9.

No
REPAIR the connector(s) and/or circuit CDC10 (BU/OG). CLEAR the DTCs. REPEAT the self-test. TEST the system for normal operation.

-------------------------------------------------
C9 CHECK THE GENERATOR COMMAND CIRCUIT FOR A SHORT TO GROUND

- Ignition OFF.
- Disconnect: Generator C102A (non- GTDI) (if not previously disconnected).
- Disconnect: Generator C1381B ( GTDI) (if not previously disconnected).
- Disconnect: PCM C175B (if not previously disconnected).
- Measure the resistance between the generator C102A-2, circuit CDC10 (BU/OG), harness side and ground.
- Is the resistance greater than 10,000 ohms?

Yes
GO to C10.

No
REPAIR circuit CDC10 (BU/OG). CLEAR the DTCs. REPEAT the self-test. TEST the system for normal operation.

-------------------------------------------------
C10 CHECK THE CHARGING SYSTEM CIRCUITS FOR INTERMITTENT FAULTS

- Connect: Generator C102A.
- Connect: PCM C175B (non- GTDI).
- Connect: PCM C1381B ( GTDI).
- Ignition ON.
- Clear all DTCs.
- Start the engine and let the engine run for 5 minutes.
- Retrieve Continuous Memory Diagnostic Trouble Codes (CMDTCs) from all modules.
- Did any charging system DTC get stored into memory?

Yes
INSTALL a new generator. REFER to Generator Service and Repair. CLEAR the DTCs. REPEAT the self-test. TEST the system for normal operation.

No
The fault is not present at this time. This may indicate an intermittent fault. CARRY OUT a wiggle test on the charging system circuits to try and RECREATE the concern. CHECK generator connections for corrosion, loose connections and/or bent terminals. REPAIR as necessary. CLEAR the DTCs. REPEAT the self-test. TEST the system for normal operation.

-------------------------------------------------
C11 CHECK THE GENERATOR COMMAND AND PCM FOR A SHORT TO VOLTAGE

- Ignition OFF.
- Connect: PCM C175B (non- GTDI).
- Connect: PCM C1381B ( GTDI).
- Ignition ON.
- Measure the voltage between generator C102A-2, circuit CDC10 (BU/OG), harness side and ground.




- Does voltage read 0 volt?

Yes
INSTALL a new PCM. REFER to Electronic Engine Controls Service and Repair. CLEAR the DTCs. REPEAT the self-test. TEST the system for normal operation.

No
REPAIR circuit CDC10 (BU/OG). CLEAR the DTCs. REPEAT the self-test. TEST the system for normal operation.

-------------------------------------------------
C12 INSPECT GENERATOR CIRCUITS

- Ignition OFF.
- Connect: PCM C175B (non- GTDI).
- Connect: PCM C1381B ( GTDI).
- Inspect the following connector pins for corrosion, pushed-out/bent pins and/or spread terminals:

- PCM C175B-66 (3.5L) or C1381B-50 (3.5L GTDI), circuit GD113 (BK/YE), PCM ground.
- Generator C102A-1, circuit CDC15 (VT).
- Generator C102A-2, circuit CDC10 (BU/OG).
- Are the connectors OK?

Yes
INSTALL a new PCM. REFER to Electronic Engine Controls Service and Repair. CLEAR the DTCs. REPEAT the self-test. TEST the system for normal operation.

No
REPAIR high resistance or loose connections in the affected circuit(s). CLEAR the DTCs. REPEAT the self-test. TEST the system for normal operation.

-------------------------------------------------