Operation CHARM: Car repair manuals for everyone.
Manuals through 2025 now available!

Our trusted friends have launched a new website named LEMON, which has newer manuals. It also contains all the CHARM manuals.

LEMON is the spiritual successor to CHARM, I recommend you try it!

Link: lemon-manuals.la or lemon-manuals.org.ua

(Some people have issue connecting. LEMON is investigating. For now, use Firefox or change your DNS server)

Or, hide this message: temporarily or permanently

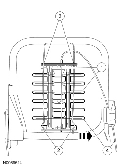
Lumbar Assembly




Lumbar Assembly

NOTE: For parts identification and locations, refer to Seat - Exploded View, Front Seat - Exploded View, Front.

1. Remove the seat backrest. For additional information, refer to Seat Backrest- Front Seat Backrest - Front.

2. Remove the backrest cover. For additional information, refer to Seat Backrest Cover- Front Seat Backrest Cover - Front.

3. Remove the backrest foam pad from the backrest frame.

4. Remove the manual lumbar assembly.
1. Remove the 2 tie straps.

2. Push the bottom of the lumbar assembly to the right and release the retainers.

3. Spread the backrest support wires and release the top of the lumbar assembly.

4. Route out the cable and remove the lumbar assembly.






5. To install, reverse the removal procedure.