Operation CHARM: Car repair manuals for everyone.
Manuals through 2025 now available!

Our trusted friends have launched a new website named LEMON, which has newer manuals. It also contains all the CHARM manuals.

LEMON is the spiritual successor to CHARM, I recommend you try it!

Link: lemon-manuals.la or lemon-manuals.org.ua

(Some people have issue connecting. LEMON is investigating. For now, use Firefox or change your DNS server)

Or, hide this message: temporarily or permanently

Part 2




Engine




















5.4L (2V) Engine Induction System










5.4L (2V) Engine - Upper End










5.4L (2V) Engine - Lower End










5.4L (2V) Engine - Front End










5.4L (2V) Engine - Exterior Components










50. NOTE: Camshaft roller follower is removed for clarity.

Install the Valve Spring Compressor Spacer tool between the valve spring coils to prevent valve stem seal damage.






51. NOTICE: The camshaft roller followers must be installed in their original locations. Failure to follow these instructions may result in engine damage.

NOTE: Do not allow the valve keepers to fall off the valve or the valve may drop into the cylinder. If a valve drops into the cylinder, the cylinder head must be removed.

NOTE: It may be necessary to push the valve down while compressing the spring.

NOTE: Position the cam lobe away from the valve stem prior to installing each camshaft roller follower.

Use the Valve Spring Compressor to compress the valve springs, and install the camshaft roller follower.






52. Repeat the previous 3 steps for each camshaft roller follower.

53. Install the 8 spark plugs.

54. NOTICE: Do not use metal scrapers, wire brushes, power abrasive discs or other abrasive means to clean the sealing surfaces. These tools cause scratches and gouges which make leak paths. Use a plastic scraping tool to remove all traces of old sealant.

NOTE: If the engine front cover is not secured within 4 minutes, the sealant must be removed and the sealing area cleaned with silicone gasket remover and metal surface prep. Follow the directions on the packaging. Allow to dry until there is no sign of wetness, or 4 minutes, whichever is longer. Failure to follow this procedure can cause future oil leakage.

NOTE: Make sure that the engine front cover gasket is in place on the engine front cover before installation.

Apply a bead of silicone gasket and sealant along the cylinder head-to-cylinder block surface at the locations shown.






55. Install a new engine front cover gasket on the engine front cover. Position the engine front cover. Install the fasteners finger-tight.





56. Tighten the 15 engine front cover fasteners in 3 stages, in the sequence shown.
- Stage 1: Tighten fasteners 1 through 5 to 25 Nm (18 lb-ft).
- Stage 2: Tighten fasteners 6 and 7 to 48 Nm (35 lb-ft).
- Stage 3: Tighten fasteners 8 through 15 to 48 Nm (35 lb-ft).









57. Lubricate the engine front cover and the crankshaft front seal inner lip with clean engine oil.





58. Using the Crankshaft Front Oil Seal Installer, the Front Cover Oil Seal Installer and the Crankshaft Vibration Damper Installer, install the crankshaft front seal into the engine front cover.





59. NOTE: If not secured within 4 minutes, the sealant must be removed and the sealing area cleaned with silicone gasket remover and metal surface prep. Follow the directions on the packaging. Allow to dry until there is no sign of wetness, or 4 minutes, whichever is longer. Failure to follow this procedure can cause future oil leakage.

Apply silicone gasket and sealant to the Woodruff key slot on the crankshaft pulley.






60. Using the Crankshaft Vibration Damper Installer, install the crankshaft pulley.





61. NOTE: Use a suitable Strap Wrench (such as 303-D055) to hold the pulley while tightening the bolt.

Tighten the new crankshaft pulley bolt in 4 stages.

- Stage 1: Tighten to 120 Nm (89 lb-ft).

- Stage 2: Loosen one full turn.

- Stage 3: Tighten to 50 Nm (37 lb-ft).

- Stage 4: Tighten an additional 90 degrees.






62. NOTICE: Do not use metal scrapers, wire brushes, power abrasive discs or other abrasive means to clean the sealing surfaces. These tools cause scratches and gouges which make leak paths. Use a plastic scraping tool to remove all traces of old sealant.

Inspect and clean the valve cover sealing surfaces with silicone gasket remover and metal surface prep. Follow the directions on the packaging.


63. Apply instant adhesive completely around the gasket groove in the LH valve cover. Install the new valve cover gasket.





64. NOTE: If not secured within 4 minutes, the sealant must be removed and the sealing area cleaned with silicone gasket remover and metal surface prep. Follow the directions on the packaging. Allow to dry until there is no sign of wetness, or 4 minutes, whichever is longer. Failure to follow this procedure can cause future oil leakage.

Apply silicone gasket and sealant in 2 places where the engine front cover meets the cylinder head.






65. Position the LH valve cover and gasket on the cylinder head and install the fasteners loosely.





66. Tighten the 13 bolts in the sequence shown.
- Tighten to 10 Nm (89 lb-in).






67. Apply instant adhesive completely around the gasket groove in the RH valve cover. Install the new valve cover gasket.





68. NOTE: If not secured within 4 minutes, the sealant must be removed and the sealing area cleaned with silicone gasket remover and metal surface prep. Follow the directions on the packaging. Allow to dry until there is no sign of wetness, or 4 minutes, whichever is longer. Failure to follow this procedure can cause future oil leakage.

Apply silicone gasket and sealant in 2 places where the engine front cover meets the cylinder head.






69. Position the RH valve cover and gasket on the cylinder head and install the fasteners loosely.





70. Tighten the 14 bolts in the sequence shown.
- Tighten to 10 Nm (89 lb-in).






71. NOTICE: Do not rotate the coolant pump housing once the coolant pump has been positioned in the cylinder block. Damage to the O-ring seal will occur.

Install the coolant pump.
1. Lubricate the new O-ring seal using clean engine coolant and install the O-ring seal onto the coolant pump.

2. Position the coolant pump into the engine block.

3. Install the 4 bolts.

- Tighten to 25 Nm (18 lb-ft).






72. Position the accessory drive belt idler pulley and install the bolt.
- Tighten to 25 Nm (18 lb-ft).






73. NOTE: Lubricate the O-ring seal with clean engine oil prior to installation.

Using a new O-ring seal, install the oil level indicator tube and the bolt.

- Tighten to 10 Nm (89 lb-in).






74. Install the oil level indicator and tube support bracket nut.
- Tighten to 25 Nm (18 lb-ft).






75. NOTE: RH shown, LH similar.

Install the radio frequency interference capacitors and the nuts.

- Tighten to 25 Nm (18 lb-ft).






76. Roughly position the engine control sensor wiring harness and mount it on the valve cover studs.

77. Connect the Engine Oil Pressure (EOP) switch electrical connector and harness retainer.





78. Connect the KS (Knock Sensor) electrical connector.





79. Connect the RH radio frequency interference capacitor electrical connector.





80. Connect the CMP (Camshaft Position) sensor electrical connector.





81. Connect the LH radio frequency interference capacitor and Cylinder Head Temperature (CHT) sensor electrical connectors.





82. NOTE: LH shown, RH similar.

If equipped, install the cylinder block drain plugs.

- Tighten to 20 Nm (177 lb-in).






83. Position the oil filter adapter gasket and the oil filter adapter. Install the nut and 4 bolts.
- Tighten the 4 front bolts to 25 Nm (18 lb-ft).

- Tighten the rear nut to 48 Nm (35 lb-ft).






84. NOTE: RH shown, LH similar.

Position the RH and LH engine support insulators and install the 6 bolts.

- Tighten to 80 Nm (59 lb-ft).






85. Position the coolant pump pulley on the coolant pump and install the 4 bolts.
- Tighten to 25 Nm (18 lb-ft).






86. Install the Engine Lifting Bracket Set.





87. Install the Engine Lifting Bracket Set.





88. Install the Engine Lifting Bracket Set and remove the engine from the work stand.





89. Lower the engine onto wooden blocks.

90. Install the Engine Lifting Bracket and raise the engine.





91. NOTICE: Do not use metal scrapers, wire brushes, power abrasive discs or other abrasive means to clean the aluminum retainer plate. These tools cause scratches and gouges, which make leak paths. Use a plastic scraping tool to remove all traces of old sealant.

Inspect the crankshaft rear seal retainer plate. Clean the mating surface for the rear seal retainer plate with silicone gasket remover and metal surface prep. Follow the directions on the packaging.


92. NOTE: The rear crankshaft seal retainer plate does not have a sealant groove. Gasket maker must be applied to the rear crankshaft seal retainer plate mating surface on the engine block.

Apply a bead of gasket maker to the rear crankshaft seal retainer plate mating surface on the engine block.






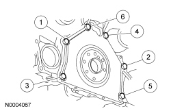
93. Install the crankshaft rear seal retainer plate and loosely install the 6 bolts.





94. Tighten the bolts in the sequence shown.
- Tighten to 10 Nm (89 lb-in).






95. NOTICE: Do not use metal scrapers, wire brushes, power abrasive discs or other abrasive means to clean the sealing surfaces. These tools cause scratches and gouges, which make leak paths. Use a plastic scraping tool to remove all traces of old sealant.

Inspect the oil pan. Clean the mating surface for the oil pan with silicone gasket remover and metal surface prep. Follow the directions on the packaging.


96. NOTE: If not secured within 4 minutes, the sealant must be removed and the sealing area cleaned with silicone gasket remover and metal surface prep. Follow the directions on the packaging. Allow to dry until there is no sign of wetness, or 4 minutes, whichever is longer. Failure to follow this procedure can cause future oil leakage.

Apply silicone gasket and sealant at the crankshaft rear seal retainer plate-to-cylinder block sealing surface.






97. NOTE: If not secured within 4 minutes, the sealant must be removed and the sealing area cleaned with silicone gasket remover and metal surface prep. Follow the directions on the packaging. Allow to dry until there is no sign of wetness, or 4 minutes, whichever is longer. Failure to follow this procedure can cause future oil leakage.

Apply silicone gasket and sealant at the engine front cover-to-cylinder block sealing surface.






98. Install the oil pan gasket and the oil pan and loosely install the 16 bolts.





99. Tighten the 16 bolts in 3 stages, in the sequence shown.
- Stage 1: Tighten to 2 Nm (18 lb-in).

- Stage 2: Tighten to 20 Nm (177 lb-in).

- Stage 3: Tighten an additional 60 degrees.






100. NOTE: Lubricate the inner lip of the crankshaft rear seal with clean engine oil.

Using the 2 Crankshaft Rear Oil Seal Installers, install a new crankshaft rear seal.






101. Using the 2 Crankshaft Rear Oil Seal Installers and the Crankshaft Rear Oil Slinger Installer, install the crankshaft rear oil slinger.





102. Install the flexplate and the 8 bolts. Tighten the bolts in 2 stages in the sequence shown.
- Stage 1: Tighten to 20 Nm (177 lb-in).

- Stage 2: Tighten to 80 Nm (59 lb-ft).






103. Install the engine. For additional information, refer to Engine Installation.