Operation CHARM: Car repair manuals for everyone.
Manuals through 2025 now available!

Our trusted friends have launched a new website named LEMON, which has newer manuals. It also contains all the CHARM manuals.

LEMON is the spiritual successor to CHARM, I recommend you try it!

Link: lemon-manuals.la or lemon-manuals.org.ua

(Some people have issue connecting. LEMON is investigating. For now, use Firefox or change your DNS server)

Or, hide this message: temporarily or permanently

Removal and Replacement




Air Conditioning and Heater Assembly





Removal and Installation

All vehicles

1. Recover the refrigerant.

2. Drain the engine coolant.

Vehicles with quarter trim panels

3. Remove the rear seats to access the LH rear quarter trim panel.

4. Remove the body side trim finish panel.
1. Remove the 3 pin-type retainers.

2. Remove the finish panel from the body side.






5. If equipped, disconnect the powerpoint electrical connector.

6. Remove the rear seat shoulder strap opening covers.
- Pry the rear seat shoulder strap covers from the upper trim panels.






7. Pull the rear door weatherstrip off at the rear door opening to access the trim panel pin-type retainers.

8. NOTE: Extended wagon shown.

Remove the rear upper quarter trim panel.

1. Remove the screw.

2. Remove the 3 pin-type retainers.

3. Remove the rear upper quarter trim panel.






9. NOTE: Extended wagon shown.

Remove the lower quarter trim panel.

1. Remove the 5 screws (extended wagon), or 3 screws (regular wagon).

2. Remove the 3 pin-type retainers.

3. Lift the panel slightly and remove the trim panel from the body side.






All vehicles

10. Remove the window latches (if equipped).
1. Remove the 2 window latch screws (1 shown).

2. Remove the window latch.






11. Disconnect the heater hoses from the auxiliary heater core.

12. Disconnect the auxiliary evaporator outlet and inlet line spring lock couplings.
- Discard the O-ring seals.






13. Remove the auxiliary plenum chamber.
1. Remove the screw.

2. Remove the auxiliary plenum chamber.






14. NOTE: Use care to avoid spilling any residual coolant or PAG oil while removing the auxiliary A/C and heater assembly.

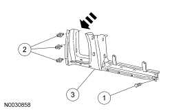
Remove the auxiliary A/C and heater assembly.

1. Remove the screws.

2. Remove the auxiliary A/C and heater assembly.






15. To install, reverse the removal procedure.
- Install new O-ring seals.

- Add the correct amount of clean PAG oil to the refrigerant system.


16. Fill the engine cooling system.

17. Evacuate, leak test and charge the refrigerant system.