Operation CHARM: Car repair manuals for everyone.
Manuals through 2025 now available!

Our trusted friends have launched a new website named LEMON, which has newer manuals. It also contains all the CHARM manuals.

LEMON is the spiritual successor to CHARM, I recommend you try it!

Link: lemon-manuals.la or lemon-manuals.org.ua

(Some people have issue connecting. LEMON is investigating. For now, use Firefox or change your DNS server)

Or, hide this message: temporarily or permanently

High Pressure Safety Valve HVAC: Service and Repair




Air Conditioning (A/C) Pressure Relief Valve - 2.5L, 3.0L (4V)













Removal and Installation

1. With the vehicle in NEUTRAL, position it on a hoist.

2. Recover the refrigerant.

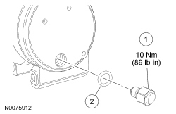
3. Remove the A/C pressure relief valve and O-ring seal.
- To install, tighten to 10 Nm (89 lb-in).


4. NOTE: A new O-ring seal will already be installed on the new A/C pressure relief valve service part.
To install, reverse the removal procedure.

- Add the correct amount of clean PAG refrigerant oil to the refrigerant system.


5. Evacuate, leak test and charge the refrigerant system.