Operation CHARM: Car repair manuals for everyone.
Manuals through 2025 now available!

Our trusted friends have launched a new website named LEMON, which has newer manuals. It also contains all the CHARM manuals.

LEMON is the spiritual successor to CHARM, I recommend you try it!

Link: lemon-manuals.la or lemon-manuals.org.ua

(Some people have issue connecting. LEMON is investigating. For now, use Firefox or change your DNS server)

Or, hide this message: temporarily or permanently

Disassembly




Engine














NOTICE: Remove the cylinder heads before removing the crankshaft. Failure to do so may result in engine damage.

NOTICE: During engine repair procedures, cleanliness is extremely important. Any foreign material, including any material created while cleaning gasket surfaces that enters the oil passages, coolant passages or the oil pan, may cause engine failure.

NOTE: The flexplate or flywheel, crankshaft rear seal and the crankshaft rear oil slinger must be removed before mounting the engine on the engine stand.

NOTE: For additional information, refer to the exploded view under the Assembly procedure.

1. Remove the 8 bolts and the flexplate.





2. Using the Slide Hammer and the Crankshaft Rear Oil Slinger Remover, remove and discard the crankshaft oil slinger.





3. Using the Slide Hammer and the Crankshaft Rear Oil Seal Remover, remove and discard the crankshaft rear seal.





4. Remove the 8 bolts and the crankshaft rear seal retainer plate.
- NOTICE: Do not use metal scrapers, wire brushes, power abrasive discs or other abrasive means to clean the sealing surfaces. These tools cause scratches and gouges, which make leak paths. Use a plastic scraping tool to remove all traces of old sealant.

Clean and inspect the sealing surfaces.






5. Mount the engine on an engine stand.

6. Remove the Engine Lifting Bracket.





7. Remove the 3 bolts and the RH engine support insulator.





8. NOTE: LH shown, RH similar.

If equipped, remove the cylinder block drain plugs and drain the coolant into a suitable container.






9. NOTE: LH shown, RH similar.

If equipped, install the cylinder block drain plugs.

- Tighten to 20 Nm (177 lb-in).






10. Remove the nut and the RH radio interference capacitor.





11. Remove the nut and the LH radio ignition interference capacitor.





12. Remove the bolt and the intake manifold vacuum tube support bracket.





13. NOTE: LH shown, RH similar.

Remove the 8 bolts and the 8 ignition coils.

- Remove the ignition coil using a twisting motion while pulling up on the ignition coil.






14. Remove the 2 bolts and both of the Knock Sensor (KS).





15. Remove the stud bolt and the coolant tube.
- Discard the O-ring seal.






16. Remove the 3 bolts and the LH engine support insulator-to-cylinder block bracket.





17. Remove the bolt and the oil level indicator tube.
- Discard the O-ring seal.






18. NOTICE: Do not use metal scrapers, wire brushes, power abrasive discs or other abrasive means to clean the sealing surfaces. These tools cause scratches and gouges which make leak paths. Use a plastic scraping tool to remove all traces of old sealant.

NOTICE: Remove the valve cover carefully, or the Variable Camshaft Timing (VCT) solenoid may be damaged.

NOTE: The bolts are part of the valve cover and should not be removed.

Loosen the 9 bolts and remove the LH valve cover.
- Clean the valve cover mating surface of the cylinder head with silicone gasket remover and metal surface prep. Follow the directions on the packaging.

- Inspect the valve cover gasket. If the gasket is damaged, remove and discard the gasket. Clean the valve cover gasket groove with soap and water or a suitable solvent.






19. NOTICE: Do not use metal scrapers, wire brushes, power abrasive discs or other abrasive means to clean the sealing surfaces. These tools cause scratches and gouges which make leak paths. Use a plastic scraping tool to remove all traces of old sealant.

NOTICE: Remove the valve cover carefully, or the Variable Camshaft Timing (VCT) solenoid may be damaged.

NOTE: The bolts are part of the valve cover and should not be removed.

Loosen the 8 bolts and remove the RH valve cover.
- Clean the valve cover mating surface of the cylinder head with silicone gasket remover and metal surface prep. Follow the directions on the packaging.

- Inspect the valve cover gasket. If the gasket is damaged, remove and discard the gasket. Clean the valve cover gasket groove with soap and water or a suitable solvent.






20. Remove the 8 nuts, the 8 studs and the LH exhaust manifold.
- Discard the gaskets, nuts and studs.

- Inspect the exhaust manifold.






21. Remove the 8 nuts, the 8 studs and the RH exhaust manifold.
- Discard the gaskets, nuts and studs.

- Inspect the exhaust manifold.






22. Remove and discard the oil filter. Remove the 3 bolts, the studbolt and the oil filter adapter.





23. Remove the 7 bolts, coolant pump pulley and the 3 accessory drive belt idler pulleys.





24. Remove the 3 bolts and the accessory drive belt tensioner.





25. Remove the 4 bolts.





26. Remove the coolant pump from the cylinder block.
- Discard the O-ring seal.






27. Remove and discard the crankshaft pulley bolt. Using the 3 Jaw Puller, remove the crankshaft pulley.





28. Using the Crankshaft Front Oil Seal Remover, remove and discard the crankshaft seal.





29. Remove the 16 bolts, oil pan and oil pan gasket.
- NOTICE: Do not use metal scrapers, wire brushes, power abrasive discs or other abrasive means to clean the sealing surfaces. These tools cause scratches and gouges, which make leak paths. Use a plastic scraping tool to remove all traces of old sealant.

Clean and inspect the sealing surfaces.






30. NOTE: Correct fastener location is essential for assembly procedure. Record fastener location.

Remove the 10 bolts and the 5 studs.






31. Remove the engine front cover from the cylinder block.





32. Remove the crankshaft sensor ring from the crankshaft.





33. Position the crankshaft keyway at the 12 o'clock position.





34. NOTE: If the camshaft lobes are not exactly positioned as shown, the crankshaft will require one full additional rotation to 12 o'clock.

The No. 1 cylinder camshaft exhaust lobe must be coming up on the exhaust stroke. Verify by noting the position of the 2 intake camshaft lobes and the exhaust lobe on the No. 1 cylinder.






35. NOTICE: If the components are to be reinstalled, they must be installed in the same positions. Mark the components for installation into their original locations. Failure to follow these instructions may result in engine damage.

Remove only the 3 camshaft roller followers shown in the illustration from the RH cylinder head.






36. NOTE: Do not allow the valve keepers to fall off of the valve or the valve may drop into the cylinder. If a valve drops into the cylinder, the cylinder head must be removed.

NOTE: It may be necessary to push the valve down while compressing the spring.

Using the Valve Spring Compressor, remove the 3 camshaft roller followers designated in the previous step from the RH cylinder head.






37. NOTICE: If the components are to be reinstalled, they must be installed in the same positions. Mark the components for installation into their original locations. Failure to follow these instructions may result in engine damage.

Remove only the 3 camshaft roller followers shown in the illustration from the LH cylinder head.






38. NOTE: Do not allow the valve keepers to fall off of the valve or the valve may drop into the cylinder. If a valve drops into the cylinder, the cylinder head must be removed.

NOTE: It may be necessary to push the valve down while compressing the spring.

Using the Valve Spring Compressor, remove the 3 camshaft roller followers designated in the previous step from the LH cylinder head.






39. NOTICE: The crankshaft cannot be moved past the 6 o'clock position once set or engine damage may occur.

Rotate the crankshaft clockwise and position the crankshaft keyway at the 6 o'clock position.






40. NOTICE: If one or both tensioner mounting bolts are loosened or removed, the tensioner-sealing bead must be inspected for seal integrity. If cracks, tears, separation from the tensioner body or permanent compression of the seal bead is observed, install a new tensioner or engine damage may occur.

Remove the 2 bolts, the LH timing chain tensioner and tensioner arm.






41. NOTICE: If one or both tensioner mounting bolts are loosened or removed, the tensioner-sealing bead must be inspected for seal integrity. If cracks, tears, separation from the tensioner body or permanent compression of the seal bead is observed, install a new tensioner or engine damage may occur.

Remove the 2 bolts, the RH timing chain tensioner and tensioner arm.






42. Remove the RH and LH timing chains and the crankshaft sprocket.
- Remove the RH timing chain from the camshaft sprocket.

- Remove the RH timing chain from the crankshaft sprocket.

- Remove the LH timing chain from the camshaft sprocket.

- Remove the LH timing chain and crankshaft sprocket.






43. NOTE: RH shown, LH similar.

Remove the LH and RH timing chain guides.

- Remove the 4 bolts.

- Remove both timing chain guides.






44. NOTICE: Damage to the camshaft phaser and sprocket assembly will occur if mishandled or used as a lifting or leveraging device.

NOTICE: Only use hand tools to remove the camshaft phaser and sprocket assembly or damage may occur to the camshaft or camshaft phaser and sprocket.

Using the Cam Phaser Locking Tool, remove the bolt and the RH camshaft phaser and sprocket assembly.
- Discard the camshaft phaser and sprocket bolt.






45. NOTICE: Damage to the camshaft phaser and sprocket assembly will occur if mishandled or used as a lifting or leveraging device.

NOTICE: Only use hand tools to remove the camshaft phaser and sprocket assembly or damage may occur to the camshaft or camshaft phaser and sprocket.

Using the Cam Phaser Locking Tool, remove the bolt and the LH camshaft phaser and sprocket assembly.
- Discard the camshaft phaser and sprocket bolt.






46. Install the Cylinder Head Remover/Installer onto the LH cylinder head.





47. Install the Cylinder Head Remover/Installer onto the RH cylinder head.





48. NOTICE: Remove the front thrust camshaft bearing cap straight upward from the bearing towers or the bearing cap may be damaged from side loading.

Remove the 2 bolts and the RH cylinder head camshaft front bearing cap.






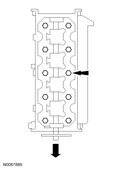
49. NOTICE: The camshaft bearing caps must be installed in their original locations. Record camshaft bearing cap locations. Failure to follow these instructions may result in engine damage.

Remove the remaining 8 bolts in the sequence shown and remove the RH cylinder head camshaft bearing caps.






50. Clean and inspect the RH camshaft bearing caps.
- The camshaft front thrust bearing cap contains an oil metering groove. Make sure the groove is free of foreign material.






51. Remove the RH camshaft.

52. NOTICE: If the components are to be reinstalled, they must be installed in the same positions. Mark the components for installation into their original locations. Failure to follow these instructions may result in engine damage.

Remove the remaining camshaft roller followers from the RH cylinder head.


53. NOTICE: If the components are to be reinstalled, they must be installed in the same positions. Mark the components for installation into their original locations. Failure to follow these instructions may result in engine damage.

Remove the hydraulic lash adjusters from the RH cylinder head.


54. NOTICE: Remove the front thrust camshaft bearing cap straight upward from the bearing towers or the bearing cap may be damaged from side loading.

Remove the 2 bolts and the LH cylinder head camshaft front bearing cap.






55. NOTICE: The camshaft bearing caps must be installed in their original locations. Record camshaft bearing cap locations. Failure to follow these instructions may result in engine damage.

Remove the remaining 8 bolts in the sequence shown and remove the LH cylinder head camshaft bearing caps.






56. Clean and inspect the LH camshaft bearing caps.
- The camshaft front thrust bearing cap contains an oil metering groove. Make sure the groove is free of foreign material.






57. Remove the LH camshaft.

58. NOTICE: If the components are to be reinstalled, they must be installed in the same positions. Mark the components for installation into the original locations. Failure to follow these instructions may result in engine damage.

Remove the remaining camshaft roller followers from the LH cylinder head.


59. NOTICE: If the components are to be reinstalled, they must be installed in the same positions. Mark the components for installation into their original locations. Failure to follow these instructions may result in engine damage.

Remove the hydraulic lash adjusters from the LH cylinder head.


60. NOTICE: The cylinder head must be cool before removing it from the engine. Cylinder head warpage may result if a warm or hot cylinder head is removed.

NOTICE: Place clean shop towels over exposed engine cavities. Carefully remove the towels so foreign material is not dropped into the engine. Failure to follow this procedure may cause engine damage.

NOTICE: The cylinder head bolts must be discarded and new bolts must be installed. They are a tighten-to-yield design and cannot be reused.

NOTICE: Do not use metal scrapers, wire brushes, power abrasive discs or other abrasive means to clean the sealing surfaces. These tools cause scratches and gouges, which make leak paths. Use a plastic scraping tool to remove all traces of old sealant.

NOTICE: Aluminum surfaces are soft and can be scratched easily. Never place the cylinder head gasket surface, unprotected, on a bench surface. Failure to follow this procedure may cause engine damage.

NOTE: RH shown, LH similar.

Remove the bolts and the cylinder head.
- Discard the cylinder head gasket.

- Discard the cylinder head bolts.






61. NOTICE: Do not use metal scrapers, wire brushes, power abrasive discs or other abrasive means to clean the sealing surfaces. These tools cause scratches and gouges, which make leak paths. Use a plastic scraping tool to remove all traces of old sealant.

NOTICE: Observe all warnings or notices and follow all application directions contained on the packaging of the silicone gasket remover and the metal surface prep. Failure to follow this procedure may cause engine damage.

NOTE: If there is no residual gasket material present, metal surface prep can be used to clean and prepare the surfaces.

Clean the cylinder head-to-cylinder block mating surfaces of both the cylinder head and the cylinder block in the following sequence.
1. Remove any large deposits of silicone or gasket material with a plastic scraper.

2. Apply silicone gasket remover, following package directions, and allow to set for several minutes.

3. Remove the silicone gasket remover with a plastic scraper. A second application of silicone gasket remover may be required if residual traces of silicone or gasket material remain.

4. Apply metal surface prep, following package directions, to remove any remaining traces of oil or coolant, and to prepare the surfaces to bond with the new gasket. Do not attempt to make the metal shiny. Some staining of the metal surfaces is normal.


62. NOTE: LH shown, RH similar.

Support the cylinder heads on a bench with the head gasket side up. Check the cylinder head distortion and the cylinder block distortion, paying particular attention to the oil pressure feed area. For additional information, refer to Engine.





63. Remove the 3 bolts, the oil pump screen and pickup tube and the spacer.





64. Remove the 3 bolts and the oil pump.





65. Before removing the pistons, inspect the top of the cylinder bores. If necessary, remove the ridge or carbon deposits from each cylinder using an abrasive pad or equivalent, following the manufacturer instructions.

66. NOTICE: Verify that the connecting rods and rod caps have orientation numbers cast into them. If not, number the connecting rods and rod caps for correct orientation. Failure to follow these instructions may result in engine damage.

Remove the 16 bolts and the 8 connecting rod caps. Discard the bolts.






67. NOTICE: Do not scratch the cylinder walls or crankshaft journals with the connecting rod. Failure to follow these instructions may result in engine damage.

Use the Connecting Rod Installer to push the piston through the top of the cylinder block.






68. Disassemble the 8 pistons. For additional information, refer to Piston .

69. Remove the fasteners.
1. Remove and discard the 10 cross-mounted main cap bolts.

2. Remove the 10 dowels.

3. Remove and discard the 10 main bearing cap bolts.






70. Remove the main bearing caps, the lower crankshaft main bearings and the lower thrust washer.





71. Remove the crankshaft, the upper crankshaft main bearings and the upper thrust washers from the cylinder block.