Operation CHARM: Car repair manuals for everyone.
Manuals through 2025 now available!

Our trusted friends have launched a new website named LEMON, which has newer manuals. It also contains all the CHARM manuals.

LEMON is the spiritual successor to CHARM, I recommend you try it!

Link: lemon-manuals.la or lemon-manuals.org.ua

(Some people have issue connecting. LEMON is investigating. For now, use Firefox or change your DNS server)

Or, hide this message: temporarily or permanently

Procedures




Transfer Case Draining and Filling

















1. With the vehicle in NEUTRAL, position it on a hoist.

2. NOTE: Position a drain pan under the transfer case.

Remove the drain plug and drain the fluid.


3. Clean the drain plug and the drain plug area. Apply thread sealant to the drain plug threads and install the drain plug.
- To install, tighten to 15 Nm (133 lb-in).


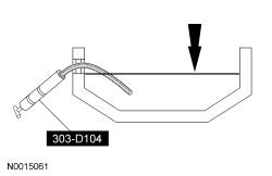
4. NOTE: Prior to removal, clean the area around the fill plug.

Remove the fill plug.


5. NOTICE: Incorrect fluid fill will result in transfer case failure.

Using the Oil Suction Gun, fill the transfer case to specification with the recommended fluid.
- Transfer case capacity is 1.3-1.5L (2.7-3.1 pt).

- The fluid must be just below the fill plug hole. Fill the case until the fluid is up to the fill plug threads.






6. Apply thread sealant to the fill plug threads, then install the fill plug.
- Tighten to 15 Nm (133 lb-in).