Operation CHARM: Car repair manuals for everyone.
Manuals through 2025 now available!

Our trusted friends have launched a new website named LEMON, which has newer manuals. It also contains all the CHARM manuals.

LEMON is the spiritual successor to CHARM, I recommend you try it!

Link: lemon-manuals.la or lemon-manuals.org.ua

(Some people have issue connecting. LEMON is investigating. For now, use Firefox or change your DNS server)

Or, hide this message: temporarily or permanently

Core Plug Replacement




Core Plug Replacement

Special Tool(s)






Material(s)






General Procedure

1. NOTE: Cylinder block core plug shown, cylinder head core plug similar.
Use the Slide Hammer and a freeze plug remover to remove the core plug.





2. NOTE: Oversize plugs are identified by the OS stamped in the flat located on the cup side of the plug.
Inspect the core plug bore for any damage that would interfere with the correct sealing of the plug. If the core plug bore is damaged, bore for the next oversize plug.

3. NOTICE: Use care during this procedure so as not to disturb or distort the cup sealing surface.

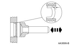
NOTE: When installed, the flanged edge must be below the chamfered edge of the bore to effectively seal the bore
If installing a cup-type core plug, coat the plug and bore lightly with sealant and install the core plug using a freeze plug installer.





4. NOTICE: Do not contact the crown when installing an expansion-type core plug. This could expand the plug before seating and result in leakage.

If installing a expansion-type core plug, coat the plug and bore lightly with sealant and install the core plug using a freeze plug installer.