Operation CHARM: Car repair manuals for everyone.
Manuals through 2025 now available!

Our trusted friends have launched a new website named LEMON, which has newer manuals. It also contains all the CHARM manuals.

LEMON is the spiritual successor to CHARM, I recommend you try it!

Link: lemon-manuals.la or lemon-manuals.org.ua

(Some people have issue connecting. LEMON is investigating. For now, use Firefox or change your DNS server)

Or, hide this message: temporarily or permanently

Automatic Transaxle-Transmission External Controls - Transmission Control Switch (TCS)




Selector Lever Cable Adjustment

WARNING: Before beginning any service procedure, REFER to Safety Warnings . Failure to follow this instruction may result in serious personal injury.

General Procedure

1. Disconnect the selector lever cable end from the manual control lever.





2. Place the manual control lever in the DRIVE position as indicated on the transaxle case.

3. Place the manual control lever in the PARK position as indicated on the transaxle case.

4. Place the manual control lever in the DRIVE position as indicated on the transaxle case.

5. Place the selector lever in the DRIVE position.





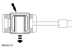
6. Unlock the selector lever cable adjuster by sliding the locking tab over.





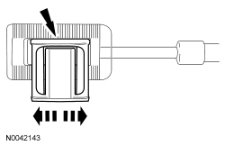
7. Slide the selector lever cable end forward or backward to align it with the manual control lever.





8. With the selector lever cable adjuster locking tab released, connect the selector lever cable end to the manual control lever.





9. Slide the locking tab back to lock the selector lever cable adjuster.





10. Verify that the vehicle only starts in PARK and NEUTRAL and the reverse lamps illuminate in REVERSE.