Operation CHARM: Car repair manuals for everyone.
Manuals through 2025 now available!

Our trusted friends have launched a new website named LEMON, which has newer manuals. It also contains all the CHARM manuals.

LEMON is the spiritual successor to CHARM, I recommend you try it!

Link: lemon-manuals.la or lemon-manuals.org.ua

(Some people have issue connecting. LEMON is investigating. For now, use Firefox or change your DNS server)

Or, hide this message: temporarily or permanently

Radiator: Service and Repair




Radiator - 2.5L, 3.0L (4V)

Radiator (View 1 of 2)










Radiator (View 2 of 2)










1. Drain the cooling system. For additional information, refer to Cooling System Draining, Filling and Bleeding Service and Repair.

2. Remove the cooling fan motor and shroud. For additional information, refer to Cooling Fan Motor and Shroud- 2.5L, 3.0L (4V) Service and Repair.

3. Disconnect the upper radiator hose from the radiator.

4. Disconnect the radiator-to-degas bottle hose from the radiator.

5. If equipped, disconnect the 2 transmission cooling tubes from the radiator.
- To install, tighten to 30 Nm (22 lb-ft).


6. Disconnect the lower radiator hose from the radiator.

7. Remove the 2 bolts from the upper radiator support brackets, position the radiator towards the engine and remove the 2 upper radiator support brackets from the radiator.
- To install, tighten to 10 Nm (89 lb-in).


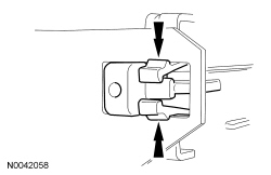
8. Remove the A/C condenser-to-radiator pin-type retainer.





9. Squeeze the tabs and separate the A/C condenser from the radiator.
- Remove the radiator.






10. To install, reverse the removal procedure.

11. Fill and bleed the cooling system. For additional information, refer to Cooling System Draining, Filling and Bleeding Service and Repair.