Operation CHARM: Car repair manuals for everyone.
Manuals through 2025 now available!

Our trusted friends have launched a new website named LEMON, which has newer manuals. It also contains all the CHARM manuals.

LEMON is the spiritual successor to CHARM, I recommend you try it!

Link: lemon-manuals.la or lemon-manuals.org.ua

(Some people have issue connecting. LEMON is investigating. For now, use Firefox or change your DNS server)

Or, hide this message: temporarily or permanently

Piston




Piston













Disassembly

1. Remove the piston rings from the piston.
- Discard the piston rings.

2. Remove the 2 piston pin retainers and the piston pin.

3. NOTE: If the piston and connecting rod are to be reinstalled, they must be assembled in the same orientation. Mark the piston orientation to the connecting rod for reassembly.
Separate the piston from the connecting rod.

4. Clean and inspect the piston and connecting rod.

Assembly

1. Align the piston-to-connecting rod orientation marks and position the connecting rod in the piston.

2. Lubricate the piston pin and pin bore with clean engine oil.

3. Install the piston pin in the piston and connecting rod assembly.

4. Install the piston pin retaining clips in the piston.

5. Lubricate the piston and the new piston rings with clean engine oil.

6. NOTE: The piston compression lower ring should be installed with the "O" mark on the ring face pointing up toward the top of the piston.

NOTE: When installing the piston oil control spacer, orient the gap such that the cut ends are pointed toward the top of the piston.
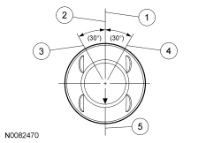
Install the piston rings onto the piston as shown.
1. Center line of the piston parallel to the wrist pin bore

2. Upper compression ring gap location

3. Upper oil control segment ring gap location

4. Lower oil control segment ring gap location

5. Expander ring and lower compression ring gap location