Operation CHARM: Car repair manuals for everyone.
Manuals through 2025 now available!

Our trusted friends have launched a new website named LEMON, which has newer manuals. It also contains all the CHARM manuals.

LEMON is the spiritual successor to CHARM, I recommend you try it!

Link: lemon-manuals.la or lemon-manuals.org.ua

(Some people have issue connecting. LEMON is investigating. For now, use Firefox or change your DNS server)

Or, hide this message: temporarily or permanently

Part 2




Engine


















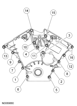
Lower Engine Block (View 1)










Lower Engine Block (View 2)










Cylinder Heads and Intake Manifolds













NOTICE: During engine repair procedures, cleanliness is extremely important. All parts must be thoroughly cleaned and any foreign material, including any material created while cleaning gasket surfaces, that enters the oil passages, coolant passages or the oil pan, can cause engine failure.

NOTICE: If the oil pan was removed during engine disassembly, it must be installed after the engine and transaxle are assembled and the transaxle-to-engine bolts are installed. Failure to follow this assembly sequence can result in engine oil leaks.

NOTE: Assembly of the engine requires various inspections/measurements of the engine components (engine block, crankshaft, connecting rods, pistons and piston rings). These inspections/measurements will aid in determining if the engine components will require replacement.

31. NOTICE: Do not allow the camshaft to rotate from the neutral position while tightening the camshaft phaser and sprocket bolts or damage to the engine may occur.

NOTE: Install a 3/8-in ratchet and extension into the D-slot on the rear of the intake camshaft to hold the camshaft in place for tightening of the camshaft phaser and sprocket bolts.
Tighten the 3 LH camshaft phaser and sprocket bolts to 18 Nm (159 lb-in).






32. NOTE: Clean the sealing surface with metal surface prep before installing a new press-in-place gasket.
Install the camshaft oil seal retainer and the 2 bolts.

- Tighten to 10 Nm (89 lb-in).






33. NOTE: Apply clean engine oil to the seal lip and seal bore before installing the seal.
Using the Power Steering Pump Pulley Installer, Camshaft Oil Seal Installer and the Camshaft Oil Seal Protector, install a new camshaft oil seal.






34. Lubricate the RH camshafts with clean engine oil and carefully position the camshafts onto the cylinder head.
- Align the RH camshafts as shown.






35. NOTICE: Cylinder head camshaft journal caps and cylinder heads are numbered to verify that they are assembled in their original positions. If not reassembled in their original positions, severe engine damage may occur.

NOTICE: Do not install the camshaft journal thrust caps until all of the camshaft bearing caps have been installed or damage to the thrust caps can occur.

NOTE: Lubricate the bearing surfaces of the RH camshaft bearing caps with clean engine oil.
Install the camshaft bearing caps.
- Loosely install the bolts.






36. NOTE: Lubricate the bearing surfaces of the RH camshaft bearing thrust caps with clean engine oil.
Install the camshaft bearing thrust caps.

- Loosely install the bolts.






37. NOTE: Make sure to tighten the camshaft bearing cap bolts in sequence in 2 stages.
Tighten the RH camshaft bearing cap bolts in the sequence shown in 2 stages.

- Stage 1: Tighten to 10 Nm (89 lb-in).

- Stage 2: Individually loosen and then tighten each camshaft bearing cap to 10 Nm (89 lb-in).






38. NOTICE: Do not allow the camshaft to rotate from the neutral position while tightening the camshaft phaser and sprocket bolts or damage to the engine may occur.

NOTE: Install a 3/8-in ratchet and extension into the D-slot on the rear of the intake camshaft to hold the camshaft in place for tightening of the camshaft phaser and sprocket bolts.
Tighten the 3 RH camshaft phaser and sprocket bolts to 18 Nm (159 lb-in).






39. Position the oil pump and install the bolts.
- Tighten in the sequence shown to 10 Nm (89 lb-in).






40. Remove the crankshaft pulley bolt.





41. NOTICE: Failure to verify correct timing drive component alignment will result in severe engine damage.

Install the crankshaft sprockets with the timing marks facing out. The timing mark on the LH and RH timing chains will be aligned to this mark during assembly.






42. NOTE: LH shown, RH similar.
Position the chain tensioner in a soft-jawed vise.






43. NOTE: LH shown, RH similar.
Hold the chain tensioner ratchet lock mechanism away from the ratchet stem with a small pick.






44. NOTICE: During tensioner compression, do not release the ratchet stem until the tensioner piston is fully bottomed in its bore or damage to the ratchet stem will result.

Slowly compress the timing chain tensioner.


45. Retain the tensioner piston with a 1.5 mm (0.06 in) diameter wire or paper clip.





46. If timing marks in the timing chains are not evident, use a permanent-type marker to mark the crankshaft and camshaft timing marks on the LH and RH timing chains.
1. Mark any link to use as the crankshaft timing mark.

2. Starting with the crankshaft timing mark, count 29 links and mark the link.

3. Continue counting to link 42 and mark the link.






47. Position the LH timing chain and guide and install the bolts.
- Tighten to 25 Nm (18 lb-ft).

- Align the marks on the timing chain with the marks on the camshaft and crankshaft sprockets.






48. Install the LH timing chain tensioner arm and the LH timing chain tensioner.
1. Install the tensioner arm.

2. Position the tensioner.

3. Install the bolts.

- Tighten to 25 Nm (18 lb-ft).






49. Install the crankshaft pulley bolt and rotate the crankshaft clockwise 120 degrees until the crankshaft keyway is in the 3 o'clock position.





50. Verify that the RH camshafts are correctly positioned.





51. Install the RH timing chain and chain guide and install the bolts.
- Tighten to 25 Nm (18 lb-ft).

- Align the marks on the timing chain with the marks on the camshaft and crankshaft sprockets.






52. Install the RH timing chain tensioner and tensioner arm.
1. Install the tensioner arm.

2. Position the tensioner.

3. Install the bolts.

- Tighten to 25 Nm (18 lb-ft).






53. Remove the LH and RH timing chain tensioner piston retaining wires.

54. Rotate the crankshaft counterclockwise 120 degrees to TDC (Top Dead Center).

55. NOTICE: Failure to verify correct timing drive component alignment will result in severe engine damage.

Verify the timing with the following steps.
1. There should be 12 chain links between the camshaft timing marks.

2. There should be 27 chain links between the camshaft and the crankshaft timing marks.

3. There should be 30 chain links between the camshaft and the crankshaft timing marks.






56. Remove the crankshaft pulley bolt and washer.





57. NOTE: This pulse wheel is used in several different engines. Install the pulse wheel with the keyway in the slot stamped "30RFF" only (orange in color).
Install the ignition pulse wheel.






58. NOTICE: Only use hand tools when removing or installing the spark plugs, damage can occur to the cylinder head or spark plug.

Install the LH and RH spark plugs.
- Tighten to 15 Nm (133 lb-in).






59. NOTICE: Do not use metal scrapers, wire brushes, power abrasive discs or other abrasive means to clean the sealing surfaces. These tools cause scratches and gouges which make leak paths.

NOTICE: Do not damage the oil pan gasket while cleaning the sealant from the lower cylinder block-to-oil pan joint.

Use a plastic scraping tool to remove all traces of sealant.
- Clean all sealing surfaces with metal surface prep and install new gaskets.


60. NOTE: Clean and degrease the sealing surfaces with metal surface prep before applying gasket and sealant.

NOTE: The front cover must be installed and the bolts tightened within 4 minutes of sealant application.
Apply a 6 mm (0.24 in) dot of silicone gasket and sealant to the cylinder block to lower cylinder block and cylinder head mating surfaces.






61. NOTE: Fasteners 4 and 13 are stud bolts.
Position the front cover and install the bolts and stud bolts.

- Tighten in the sequence shown to 25 Nm (18 lb-ft).






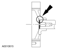
62. NOTE: Note the position of the alignment dowel on the engine front cover.
Install the 2 bolts and the LH Variable Camshaft Timing (VCT) solenoid.

- Tighten to 10 Nm (89 lb-in).






63. NOTE: Note the position of the alignment dowel on the engine front cover.
Install the 2 bolts and the RH VCT (Variable Camshaft Timing) solenoid.

- Tighten to 10 Nm (89 lb-in).






64. NOTE: Clean all sealing surfaces with metal surface prep.
Apply clean engine oil to the seal lip and seal bore before installing the seal.


65. Using the Front Cover Oil Seal Installer and the Crankshaft Vibration Damper Installer, install a new crankshaft front seal.





66. NOTE: Clean the keyway and slot using metal surface prep before applying silicone gasket and sealant.

NOTE: Sealing surfaces must be free of dirt and oil.

NOTE: The crankshaft pulley must be installed and the bolt tightened within 4 minutes of sealant application.
Apply silicone gasket and sealant to the end of the crankshaft pulley keyway slot.






67. NOTE: Lubricate the outside diameter sealing surface with clean engine oil.
Using the Crankshaft Vibration Damper Installer, install the crankshaft pulley.






68. Install the bolt and washer. Tighten the bolt in 4 stages:
- Stage 1: Tighten to 120 Nm (89 lb-ft).

- Stage 2: Loosen one full turn.

- Stage 3: Tighten to 50 Nm (37 lb-ft).

- Stage 4: Tighten an additional 90 degrees.






69. Install the belt tensioner and the 3 bolts.
- Tighten to 25 Nm (18 lb-ft).






70. Install the 8 nuts and the oil pan baffle.
1. Tighten the 4 M6 oil pan baffle nuts in 2 stages.
- Stage 1: Tighten to 5 Nm (44 lb-in).

- Stage 2: Tighten an additional 45 degrees.

2. Then install and tighten the 4 M8 oil pan baffle nuts in 2 stages.
- Stage 1: Tighten to 15 Nm (133 lb-in).

- Stage 2: Tighten an additional 45 degrees.