Operation CHARM: Car repair manuals for everyone.
Manuals through 2025 now available!

Our trusted friends have launched a new website named LEMON, which has newer manuals. It also contains all the CHARM manuals.

LEMON is the spiritual successor to CHARM, I recommend you try it!

Link: lemon-manuals.la or lemon-manuals.org.ua

(Some people have issue connecting. LEMON is investigating. For now, use Firefox or change your DNS server)

Or, hide this message: temporarily or permanently

Evaporator Core: Service and Repair

EVAPORATOR CORE REPLACEMENT

Evaporator Tube Replacement:




Evaporator And Blower Assembly Component View:




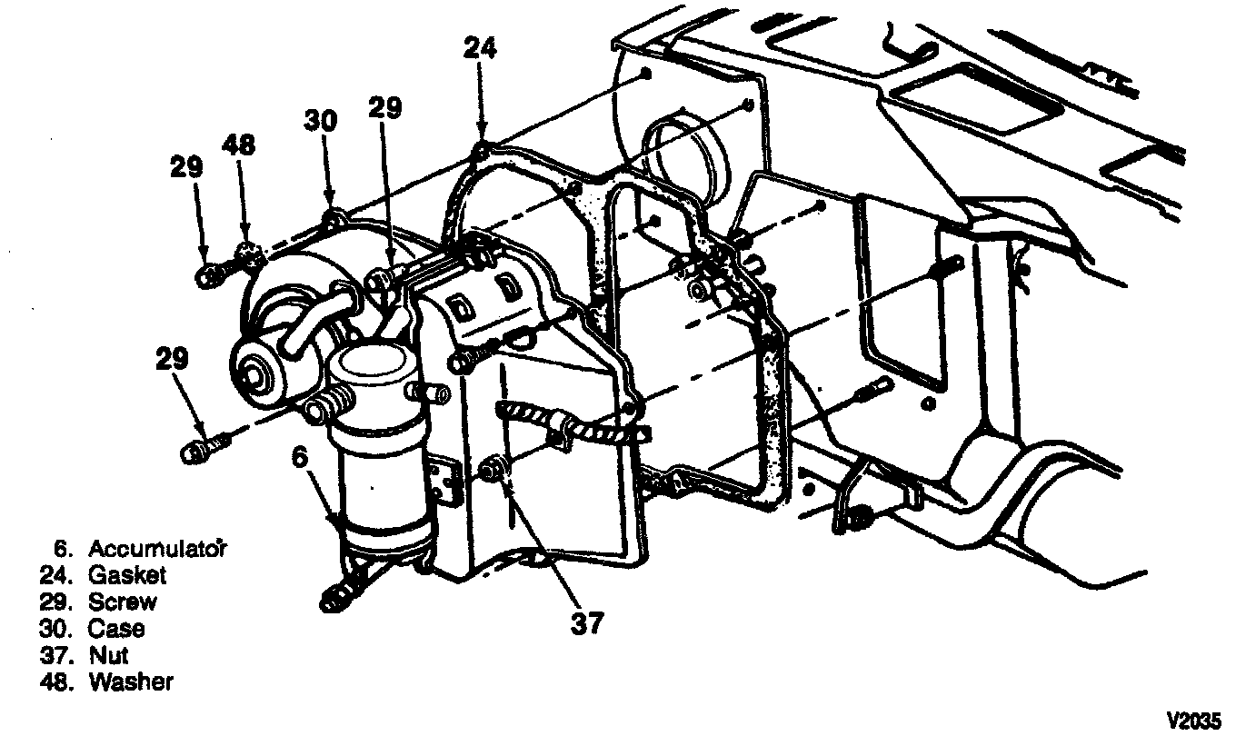
Accumulator Replacement:




Evaporator And Blower Case Replacement:






Remove Or Disconnect
1. Charge air cooler.
2. Discharge and recover refrigerant from the system.
3. Drain cooling system.
4. Heater hoses from core.
5. Resistor (35) with the wire attached.

6. Electrical connectors, as necessary.
7. Evaporator tube (5) from evaporator (10).
8. Compressor hose assembly (3) from the accumulator (6).
9. Screws (29) and nuts (37).

10. Blower assembly from the vehicle.
11. Accumulator (6).
12. Screws (38).
13. Case sections (30 and 36).
14. Core (33).


Install Or Connect
1. Core (33).
- Add or replace Refrigerant Oil as necessary.

2. Case sections (30 and 36).
3. Screws (38).
4. Accumulator (6).
5. Blower assembly to the vehicle.
6. Screws (29) and nuts (37).

Tighten
- Screws (29) to 3 Nm (27 in. lb.).
- Nuts (37) to 2 Nm (18 in. lb.).

7. Compressor hose assembly (3) to accumulator.
8. Evaporator tube (5) to evaporator (10).

Tighten
- Evaporator tube connection to 41 Nm (30 ft. lb.).
- Compressor hose assembly to 41 Nm (30 ft. lb.).

9. Electrical connectors, as necessary.
10. Resistor (35).
11. Heater hoses to core.
12. Charge air cooler.
13. Refill cooling system.
14. Refrigerant to the system.
- Check the system for leaks.