Operation CHARM
: Car repair manuals for everyone.
Home
>>
GMC
>>
1998
>>
W 4500 Forward L4-3.9L DSL
>>
Repair and Diagnosis
>>
Powertrain Management
>>
Emission Control Systems
>>
EGR Valve
>>
Locations
Manuals through 2025 now available!
Our trusted friends have launched a new website named LEMON, which has newer manuals. It also contains all the CHARM manuals.
LEMON is the spiritual successor to CHARM, I recommend you try it!
Link:
lemon-manuals.la
or
lemon-manuals.org.ua
(Some people have issue connecting. LEMON is investigating. For now, use Firefox or change your DNS server)
Or, hide this message:
temporarily
or
permanently
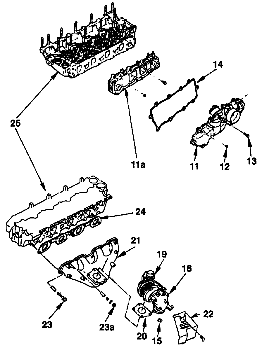
EGR Valve: Locations
EGR Case
11.
Intake Manifold
11a.
EGR Case
12.
Nut
13.
Bolt
14.
Gasket
15.
Nut
16.
Exhaust Adapter
19.
Turbocharger
20.
Gasket
21.
Exhaust Manifold
22.
Heat Shield
23.
Bolt
23a.
Nut
24.
Gasket
25.
Cylinder Head