Operation CHARM: Car repair manuals for everyone.
Manuals through 2025 now available!

Our trusted friends have launched a new website named LEMON, which has newer manuals. It also contains all the CHARM manuals.

LEMON is the spiritual successor to CHARM, I recommend you try it!

Link: lemon-manuals.la or lemon-manuals.org.ua

(Some people have issue connecting. LEMON is investigating. For now, use Firefox or change your DNS server)

Or, hide this message: temporarily or permanently

Starting System Description




Starting System Description

Cranking Circuit

The cranking system consists of the following components:

* The battery
* The starter motor
* The ignition switch (The engine control switch on diesel vehicles)
* The starter relay
* Related electrical wiring
* A neutral start switch (on vehicles with automatic transmissions)
Vehicles equipped with an electronically-controlled automatic transmission do not have a separate neutral start switch in the cranking circuit. The neutral switch is built into the Vehicle Interface Module (VIM). Refer to Engine Electrical Components Engine Electrical Components for component location. Refer to the following sections for detailed circuit description:

* Starting System Circuit Description (LP4/L21 Engines) Starting System Circuit Description (LP4/L21 Engines)Starting System Circuit Description (LG5 Engine) Starting System Circuit Description (LG5 Engine)
* Starting System Circuit Description (LP4/L21 Engines) Starting System Circuit Description (LP4/L21 Engines)Starting System Circuit Description (LG5 Engine) Starting System Circuit Description (LG5 Engine)

PG-260 Starter Motor





The PG-260 starter motor is used on the 7.4L gasoline engines. The PG-260 has a gear reduction ration of 5:1 through the planetary gears. The PG-260's small size and light weight offers improved cranking performance and reduced current requirements for larger gasoline engines.

37-MT Starter Motors





The 37-MT/300 and the 37-MT/350 starter motors are used on the7.2L diesel engines. The above starter motors have the following components:

* Adjustable drive end frame housings
* Oil soaked wicks
The oil soaked wicks provide lubrication fro the bronze bushings.
* An external grounding stud (37-MT/350 only)
The external grounding stud is installed in the field frame in place of one of the pole shoe screws.





The optional 37-MT/350 starter motor (RPO-KQR) for the 7.2L is equipped with built-in overcrank protection. If overcranking occurs, the built-in thermostat will open and stop the cranking cycle in order to protect the starter motor.





After the starter motor cools, the thermostat will close and engine cranking can resume. The engine usually cools in 1 to 6 minutes.

Shift Lever and Solenoid Plunger

The following starter motors have an enclosed shift lever:

* PG-260
* 28-MT
* 37-MT/300
* 37-MT/350

The shift lever mechanism and solenoid plunger are located within the drive housing. The drive housing protects the above components from exposure to the following conditions:

* Dirt
* Icing conditions
* Splash

The starter solenoid operates when the ignition of the engine control switch turns to the START position (automatic transmission in the NEUTRAL position). the main contacts close with the starter solenoid energized. Closing the main contacts completes the electrical circuit between the battery and the starter motor. Energizing the solenoid also shifts the plunger and the shift lever. Shifting the plunger and the shift lever engages the pinion gear to mesh with the engine flywheel ring gear. This enables cranking.

When the engine starts, the pinion overrunning clutch protects the armature from excessive speed. Releasing the ignition or engine control switch opens the solenoid main contacts and causes the plunger's return spring to disengage the pinion. In order to prevent damage to the starter, release the key immediately after the engine starts.

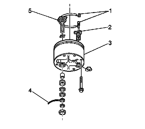
37-MT Starter Motors





The 37-MT 300 and the 37-MT 350 heavy-duty starter motors have totally enclosed shift levers (4) and solenoid plungers (3) in order to protect the shift levers and solenoid plungers from the following conditions:

* Dirt
* Icing Conditions
* Splash

A seal between the shaft and the shift lever housing and a rubber boot or linkage seal (3) over the solenoid plunger prevent oil entry into the motor main frame and the solenoid case. The prevention of oil entry allows the motor to operate on wet clutch applications.

Other seals are used in order to resist entry of dirt and moisture into the motor assembly. when the oil reservoirs and seals are included, the motor is classified as long life, and will provide long periods of attention-free operation.

Oil-saturated wicks (2) provide lubrication to each of the three sintered bronze bushings (8,9, and 15). The oil-saturated wicks are in contact with the outside of each bushing. Oil soaks into the sintered bronze material in order to lubricate the bearing surface of the armature shaft. The oil supply is long lasting. It is not necessary to add oil to the wicks between engine overhauls.

The action of the solenoid moves the heavy-duty 5-roll drive assembly into mesh with the ring gear. The pinion remains engaged until the release of the engine control (ignition) switch interrupts the solenoid circuit. The pinion overruns when the engine starts to reduce the possibility of damage to the starter.

Type 300 starter motors have a grounding terminal installed in the commutator end frame. Type 350 starter motors have this terminal in addition to a grounding stud installed into the field frame in place of one of the pole shoe screws. Refer to Starter Motor Replacement (LP4/L21) Starter Motor Replacement (LP4/L21)Starter Motor Replacement (LG5) Starter Motor Replacement (LG5) for views of the wiring connections to the starter motor.

Type 350 starter motors have overcrank protection. The motor has a built-in thermostat that opens the circuit to the solenoid terminal if the motor gets to hot. This action stops the cranking cycle. After the motor cools, the thermostat closes and the motor can be cranked again. The motor will usually cool in one to six minutes.





Internally, the thermostat (2) attaches to the commutator end ground terminal lead (4).

Under normal conditions, no maintenance is required between engine overhaul periods. Perform the following procedures at the time of overhaul:

* Disassemble the starter motor.
* Inspect the starter motor.
* Clean the starter motor.
* Test the starter motor.

37-MT Adjustable Drive Housing

The drive housing attaches to the lever housing by screws that are located around the outside of the housing. Perform the following procedures in order to relocate the housing:

* Remove the screws.
* Rotate the housing.
* Reinstall the screws.

In this assembly, the lever housing and the commutator end frame are attached to the field frame by screws in the field frame.

37-MT Starter Motor Identification





The build date uses the following format:

* Year (1)
* Month (2)
* Day (3)

The month is shown in alpha form; January is A, February is B, etc. Therefore, the identification code 96L12 is 1996, December 12.

37-MT Armature Identification





The build date is stamped on the lamentations near the part number (1). The build date uses the following format:

* Month (2)
* Year (3)

A96 is January 1996.

37-MT Drive Assembly Identification





The build date (1) is stamped on the outer shell near the part number (2). The build date uses the following format:

* Year
* Month
* Day

The month appears in alpha form; A 96 is January 1996.

37-MT Solenoid Identification





The build date (2) is stamped on the solenoid in the following format:

* Year
* Month
* Day

The month appears in alpha form; A 96 is January 1996. Therefore 6 K 18 is 1996 November 18.