Operation CHARM: Car repair manuals for everyone.
Manuals through 2025 now available!

Our trusted friends have launched a new website named LEMON, which has newer manuals. It also contains all the CHARM manuals.

LEMON is the spiritual successor to CHARM, I recommend you try it!

Link: lemon-manuals.la or lemon-manuals.org.ua

(Some people have issue connecting. LEMON is investigating. For now, use Firefox or change your DNS server)

Or, hide this message: temporarily or permanently

Ignition Switch Replacement - On Vehicle




Ignition Switch Replacement - On Vehicle

Removal Procedure

1. Remove the dimmer switch assembly. Refer to Headlamp Dimmer Switch Replacement - On Vehicle Headlamp Dimmer Switch Replacement - On Vehicle.




2. Remove the dimmer and ignition switch mounting stud (3).
3. Slide the ignition switch actuator rod out from the ignition switch assembly.
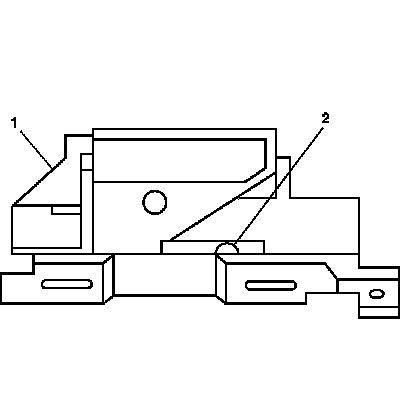
4. Remove the ignition switch assembly (2) from the steering column jacket assembly (1).

Installation Procedure




1. Install the ignition switch assembly (2) onto the steering column jacket assembly (1).
2. Slide the ignition switch actuator rod into the ignition switch assembly.

Notice: Refer to Fastener Notice in Cautions and Notices.

3. Install the dimmer and ignition switch mounting stud (3).

Tighten the stud to 4 Nm (35 lb in).




4. Move the ignition switch assembly slider (2) to the far right position.
5. Move the ignition switch assembly slider (2) detent to the left. This is the "OFF LOCK" position.
6. Install a 3/32 inch drill bit into the hole on the ignition switch assembly (1) to limit travel.
7. Push against the ignition switch actuator assembly to limit all the lash.
8. Install the dimmer switch assembly. Refer to Headlamp Dimmer Switch Replacement - On Vehicle Headlamp Dimmer Switch Replacement - On Vehicle.