Operation CHARM: Car repair manuals for everyone.
Manuals through 2025 now available!

Our trusted friends have launched a new website named LEMON, which has newer manuals. It also contains all the CHARM manuals.

LEMON is the spiritual successor to CHARM, I recommend you try it!

Link: lemon-manuals.la or lemon-manuals.org.ua

(Some people have issue connecting. LEMON is investigating. For now, use Firefox or change your DNS server)

Or, hide this message: temporarily or permanently

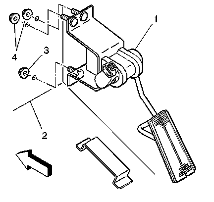
Accelerator Pedal Position Sensor: Service and Repair




Accelerator Pedal Position Sensor Replacement

Removal Procedure





Notice: Handle the electronic throttle control components carefully. Use cleanliness in order to prevent damage. Do not drop the electronic throttle control components. Do not roughly handle the electronic throttle control components. Do not immerse the electronic throttle control components in cleaning solvents of any type.

1. Disconnect the accelerator pedal position sensor (1) electrical connector.
2. Remove the accelerator pedal assembly mounting nuts (3, 4) from the cowl (2).
3. Remove the accelerator pedal assembly with bracket (1).

Installation Procedure





Notice: Refer to Fastener Notice in Cautions and Notices.

Important: Always use a torque wrench in order to obtain the proper torque.


1. Install the accelerator pedal assembly with bracket to the cowl (1).

Tighten the accelerator pedal bracket mounting nuts (3, 4) to 36 Nm (27 lb ft).

2. Connect the accelerator pedal position sensor (1) electrical connector.
3. Inspect for complete throttle opening and closing positions. Use a scan tool to monitor the throttle angles while operating the accelerator pedal to open and close the throttle. The accelerator pedal should operate freely without binding between full closed throttle and wide open throttle.
4. Inspect for proper carpet fit under the accelerator pedal.