Operation CHARM: Car repair manuals for everyone.
Manuals through 2025 now available!

Our trusted friends have launched a new website named LEMON, which has newer manuals. It also contains all the CHARM manuals.

LEMON is the spiritual successor to CHARM, I recommend you try it!

Link: lemon-manuals.la or lemon-manuals.org.ua

(Some people have issue connecting. LEMON is investigating. For now, use Firefox or change your DNS server)

Or, hide this message: temporarily or permanently

Powertrain Management: Locations




Engine Controls Component Views

Vehicle Profile




1 - Throttle Actuator Control (TAC) Module
2 - Fuel Pump and Sender Assembly
3 - EVAP Canister
4 - Data Link Connector (DLC)
5 - Powertrain Control Module (PCM)

Intake Manifold Components




1 - Multiport Fuel Injectors
2 - Exhaust Gas Recirculation (EGR) Valve
3 - Manifold Absolute Pressure (MAP) Sensor
4 - Evaporative Emission (EVAP) Canister Purge Solenoid
5 - Throttle Position (TP) Sensor
6 - Throttle Actuator Control (TAC) Motor

Engine, Left Rear View




1 - Throttle Position (TP) Sensor
2 - Throttle Actuator Control (TAC) Motor
3 - Manifold Absolute Pressure (MAP) Sensor
4 - Exhaust Gas Recirculation (EGR) Valve
5 - Engine Oil Pressure (EOP) Sensor
6 - Crankshaft Position (CKP) Sensor
7 - Ignition Coils

Engine Block, Left Front View




1 - Camshaft Position (CMP) Sensor
2 - Crankshaft Position (CKP) Sensor
3 - Knock Sensor (KS) 1

Heated Oxygen Sensor, Bank 1




1 - Heated Oxygen Sensor (HO2S) Bank 1 Sensor 1
2 - Exhaust Pipe
3 - Engine Exhaust Manifold

Heated Oxygen Sensor, Bank 2




1 - Engine Exhaust Manifold
2 - Heated Oxygen Sensor (HO2S) Bank 2 Sensor 1
3 - Exhaust Pipe

Automatic Transmission Harness -Typical- without MTW/MX4/MWF




1 - To Backup Lamp Switch
2 - Vehicle Speed Sensor (VSS)
3 - Automatic Transmission Modulator
4 - Neutral Safety Switch
5 - C408/C409

Manual Transmission Harness, Left Forward View




1 - Backup Lamp Switch
2 - Vehicle Speed Sensor (VSS) (JE4)
3 - Vehicle Speed Sensor (VSS) (JE3)

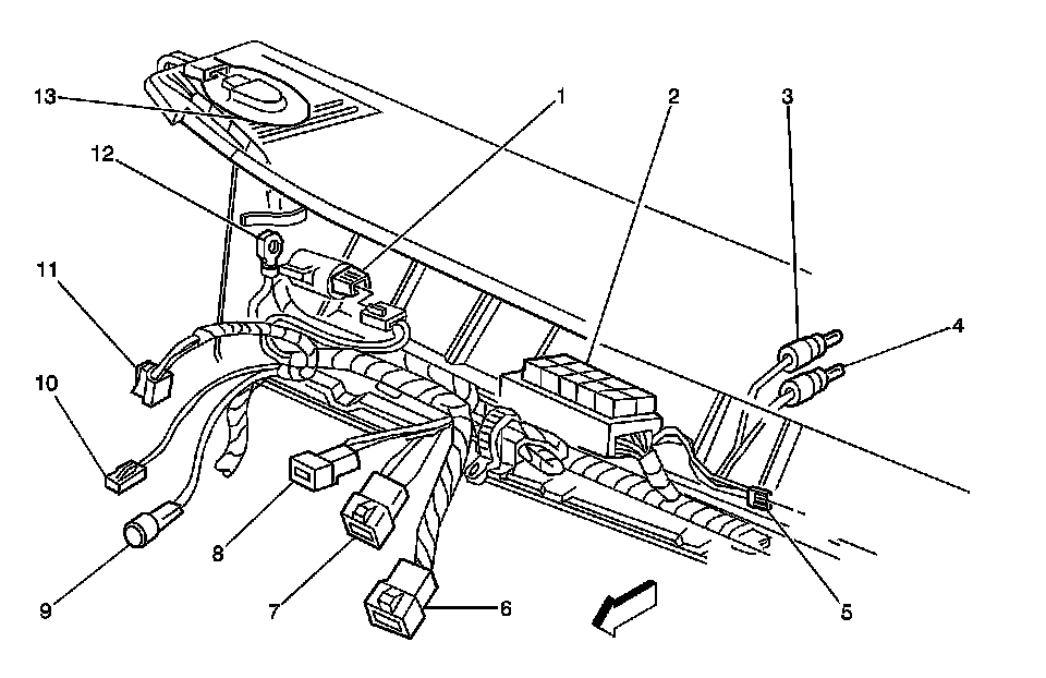
Instrument Panel Harness to IP Mounted Components, Right Front View




1 - Power Brake (P/B) Booster Pump Motor Relay
2 - Park Brake Pump Motor Relay
3 - Trailer Stop Lamp Relay
4 - Transmission Control Relay - MTW/MX4/Ignition Relay - Engine Controls - L18
5 - ABS Relay Center
6 - Fuse Block 2 - Underhood
7 - Fuse Block 1 - Underhood
8 - C123
9 - C121
10 - Windshield Washer Fluid Pump
11 - Windshield Washer Reservoir

Exterior Bulkhead, Right Side




1 - Instrument Panel
2 - Powertrain Control Module (PCM)

Instrument Panel Harness to Instrument Panel, Right Front View




1 - Ignition Switch
2 - Park Brake Switch (JE3/J71)
3 - Turn Signal/Multifunction Switch C3
4 - Turn Signal/Multifunction Switch C2
5 - Turn Signal/Multifunction Switch C1
6 - Headlamp Dimmer Switch
7 - Turn Signal/Hazard Flasher Module
8 - Park/Neutral (PNP) Switch C3
9 - Park/Neutral (PNP) Switch C2
10 - Park/Neutral (PNP) Switch C1
11 - Accelerator Pedal Position (APP) Sensor
12 - Low Air Pressure Switch
13 - Stop Lamp Switch

Fuel Pump Prime, Data Link Connector (DLC)




1 - Instrument Panel
2 - Door Jamb Switch - Driver
3 - Fuel Pump Prime Connector
4 - Data Link Connector (DLC)
5 - Headlamp Switch
6 - IP Dimmer Switch

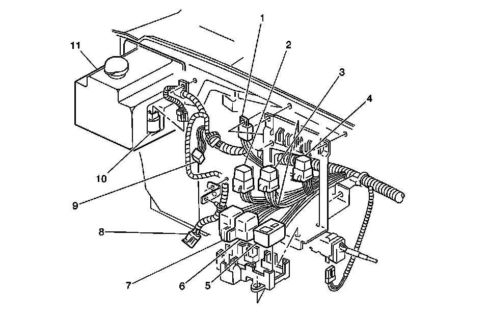
IP Harness to Components, Right View




1 - Stop Lamp Switch Interface Module
2 - Convenience Center
3 - SERVICE TRANS FILTER Indicator Lamp
4 - Seat Belt Indicator Lamp
5 - Upfitter Accessory Feed Connector
6 - C210
7 - Upfitter AUX WRG Connector, Interior
8 - Daytime Running Lamps (DRL) Diode
9 - Blower Motor C1
10 - Blower Motor C2
11 - C208
12 - G210
13 - Speaker - RF

Instrument Panel Components, Left Side




1 - Air Suspension Dump Switch
2 - PTO Switch
3 - Instrument Panel

Instrument Panel Harness to Components, Left Side of Cab




1 - Multifunction Alarm Module
2 - Park Brake Control Module (PBCM)

Lower Left Side of Cab Interior




1 - Instrument Panel
2 - Accelerator Pedal Position (APP) Sensor

Lower Right Side of Cab Interior




1 - Throttle Actuator Control (TAC) Module
2 - Blower Motor Housing
3 - Throttle Actuator Control (TAC) Module Bracket

Fuel Tank(s)




1 - Fuel Pump Harness
2 - Fuel Pump and Sender Assembly - Left
3 - Fuel Tank - Left
4 - Fuel Sender and Balance Pump Control Module
5 - Fuel Sender and Balance Pump Control Relay
6 - C411
7 - Fuel Pump and Sender Assembly - Right