Operation CHARM: Car repair manuals for everyone.
Manuals through 2025 now available!

Our trusted friends have launched a new website named LEMON, which has newer manuals. It also contains all the CHARM manuals.

LEMON is the spiritual successor to CHARM, I recommend you try it!

Link: lemon-manuals.la or lemon-manuals.org.ua

(Some people have issue connecting. LEMON is investigating. For now, use Firefox or change your DNS server)

Or, hide this message: temporarily or permanently

Front Toe Adjustment




Front Toe Adjustment

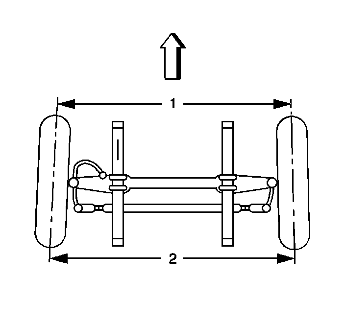
Measure toe-in at the following locations:




* From the center of the tire treads (1) or from the inboard side of the tires
* At the front (1) and the rear (2) of the axle
* At the horizontal axis of the wheel

When setting the toe-in adjustment, neutralize the front suspension. Ensure that all component parts are in the same relative position when making the adjustment as they will be when in operation. In order to neutralize the suspension, roll the vehicle 3.5-4.5 m (12-15 ft). When the vehicle is rolled forward, all normal tolerances in the suspension and the steering linkage are in the correct operating position. Neutralize the front suspension if the vehicle has been raised.

1. Loosen the tie rod end clamps.
2. Use a pipe wrench in order to turn the tie rod until the wheels have the proper toe-in.

Angular toe-in should be 0.03 degrees per wheel or 79 mm (0.03 in) linear sum toe-in.

Notice: Refer to Fastener Notice .

3. Tighten the tie rod end clamp nuts.

Tighten the nuts to 75 Nm (55 lb ft).