Audible Warning Device Control Module: Service and Repair
Multifunction Alarm Module Replacement
Removal Procedure
Caution: Refer to Battery Disconnect Caution in Cautions and Notices.
1. Disconnect the negative battery cable.
2. Remove the left front speaker. Refer to Radio Front Speaker Replacement Radio Front Speaker Replacement.
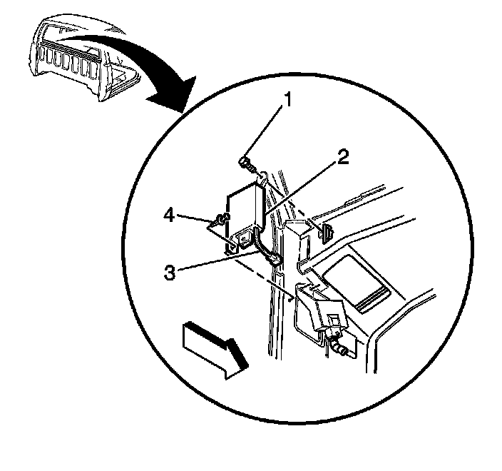
3. Working from under the instrument panel, disconnect the alarm module electrical connector(s) (3).
4. Remove the alarm module retainer (4) located at the bottom of the module.
5. Remove the alarm module bolt (1) and the alarm module (2) through the speaker opening.
Installation Procedure
1. Install the alarm module (2) through the speaker opening.
Notice: Refer to Fastener Notice in Cautions and Notices.
2. Install the alarm module bolt (1).
Tighten the alarm module bolt to 10 Nm (89 lb in).
3. Install the alarm module retainer (4) through the bottom of the module by reaching up from under the instrument panel.
4. Connect the alarm module electrical connector(s) (3).
5. Install the left front speaker. Refer to Radio Front Speaker Replacement Radio Front Speaker Replacement.
6. Connect the negative battery cable.