Operation CHARM: Car repair manuals for everyone.
Manuals through 2025 now available!

Our trusted friends have launched a new website named LEMON, which has newer manuals. It also contains all the CHARM manuals.

LEMON is the spiritual successor to CHARM, I recommend you try it!

Link: lemon-manuals.la or lemon-manuals.org.ua

(Some people have issue connecting. LEMON is investigating. For now, use Firefox or change your DNS server)

Or, hide this message: temporarily or permanently

Thread Repair Specifications

Thread Repair Specifications Engine Block - Top View





Engine Block- Top View





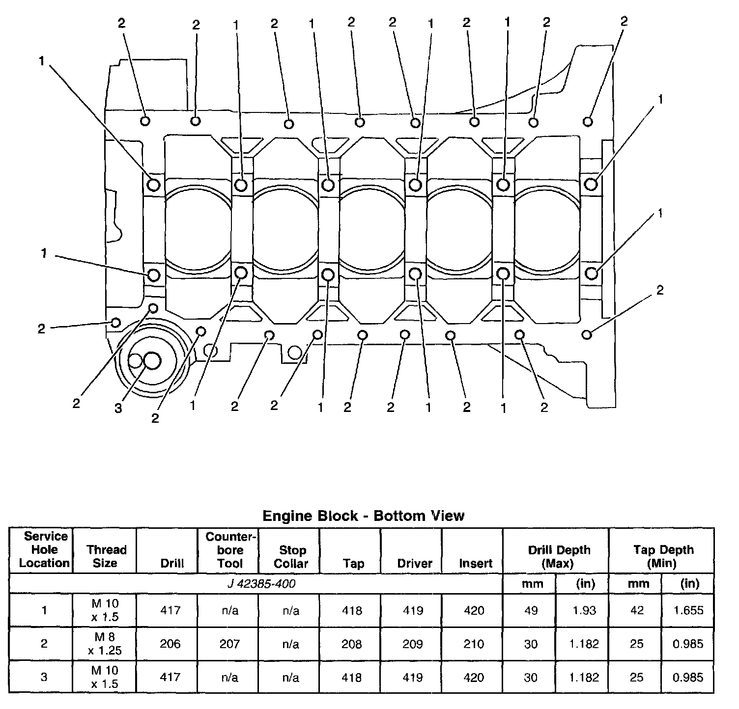
Engine Block- Bottom View





Engine Block- Left Side View





Engine Block - Right Side View





Engine Block - Front View





Engine Block - Rear View





Cylinder Head - Top View





Cylinder Head - End - Front View





Cylinder Head - End - Rear View





Cylinder Head - Intake Manifold Deck View





Cylinder Head - Exhaust Manifold Deck View





Oil Pan - Bottom View





Oil Pan - Rear View





Engine Front Cover





Crankshaft Rear Oil Seal Housing