Operation CHARM: Car repair manuals for everyone.
Manuals through 2025 now available!

Our trusted friends have launched a new website named LEMON, which has newer manuals. It also contains all the CHARM manuals.

LEMON is the spiritual successor to CHARM, I recommend you try it!

Link: lemon-manuals.la or lemon-manuals.org.ua

(Some people have issue connecting. LEMON is investigating. For now, use Firefox or change your DNS server)

Or, hide this message: temporarily or permanently

Generator Bracket Replacement

GENERATOR BRACKET REPLACEMENT

REMOVAL PROCEDURE




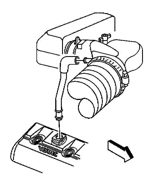
1. Loosen the air cleaner outlet duct clamp at the mass air floWITH intake air temperature (MAF/IAT) sensor.




2. Remove the positive crankcase ventilation (PCV) hose.




3. Remove the air cleaner adapter nut.




4. In order to remove the air cleaner outlet duct, pivot the duct upward until the hinge clip releases from the lip on the throttle body.
5. Remove the cooling fan.
6. Remove the drive belt.




7. Remove the wiring harness bracket bolt.




8. Remove the heater hose bracket bolt.
9. Remove the generator.
10. Remove the drive belt tensioner.
11. Remove the drive belt idler pulley.




12. Remove the generator bracket bolts and nut.
13. Remove the generator bracket.

INSTALLATION PROCEDURE




1. Install the generator bracket.

NOTE: Refer to Fastener Notice in Service Precautions.

2. Install the generator bracket bolts and nut.

Tighten
Tighten the bolts/nut to 41 N.m (30 lb ft).

3. Install the drive belt idler pulley.
4. Install the drive belt tensioner.
5. Install the generator.




6. Install the heater hose bracket bolt.

Tighten
Tighten the bolt to 25 N.m (18 lb ft).




7. Install the wiring harness bracket bolt.

Tighten
Tighten the bolt to 25 N.m (18 lb ft).

8. Install the cooling fan.
9. Install the drive belt.




10. Align the hinge clip with the lip on the throttle body. In order to install the air cleaner outlet duct, pivot the air cleaner outlet duct downward until the mounting stud is through the hole.




11. Install the air cleaner adapter nut.




12. Install the PCV hose.




13. Tighten the air cleaner outlet duct clamp at the MAF/IAT sensor.