Operation CHARM: Car repair manuals for everyone.
Manuals through 2025 now available!

Our trusted friends have launched a new website named LEMON, which has newer manuals. It also contains all the CHARM manuals.

LEMON is the spiritual successor to CHARM, I recommend you try it!

Link: lemon-manuals.la or lemon-manuals.org.ua

(Some people have issue connecting. LEMON is investigating. For now, use Firefox or change your DNS server)

Or, hide this message: temporarily or permanently

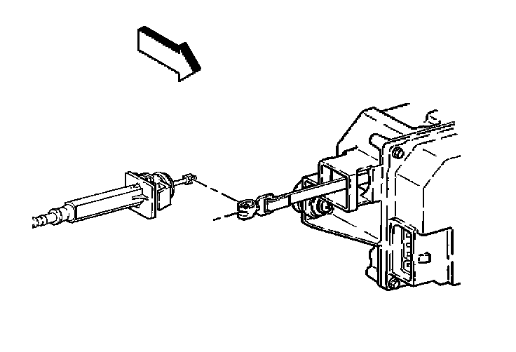
Cruise Control Servo Cable: Service and Repair

CRUISE CONTROL CABLE REPLACEMENT

REMOVAL PROCEDURE

IMPORTANT: The cruise control cable does not require mechanical adjusting after replacement. The cruise control module internally adjusts the cable. Refer to Cruise Control Description and Operation for the complete operational details.




1. Disconnect the cruise control cable locator clip from the outboard rectangular hole in the routing bracket at the left front corner of the engine.
2. Disconnect the cruise control cable conduit fitting from the round hole in the engine cable bracket.
3. Disconnect the cruise control cable engine-end fitting from the stud on the throttle lever.
4. Disconnect the cruise control cable fitting from the cruise control module.




5. Disconnect the cruise control cable bead from the fitting on the cruise control module ribbon.
6. Remove the cruise control cable from the vehicle.

INSTALLATION PROCEDURE

IMPORTANT: Secure all of the components of the accelerator and the cruise control cables as specified. Ensure that the throttle linkage operates freely without binding between the idle position and the wide open throttle.




1. Remove and discard the plastic cable retainer.
2. Install the cruise control cable to the vehicle.
3. Connect the cruise control cable bead to the fitting on the cruise control module ribbon.




4. Pull the cruise control cable until the cable is taut.




5. Use care not to twist the ribbon.




6. Turn the cruise control cable at the engine-end fitting in order to straighten the cruise control module ribbon, as needed.
Ensure that the ribbon is flat and vertical.
7. Slide the cruise control cable conduit over the ribbon.
- Install the tangs to the cruise control module housing.
- Ensure that the tangs snap securely into place.




8. Snap the cruise control cable engine-end fitting over the stud on the throttle lever.
9. Connect the cruise control cable conduit fitting to the engine cable bracket.
- Ensure that the tabs snap securely into the hole.
- Route the cruise control cable above the accelerator cable.
- Ensure that the clip snaps securely into place.