Operation CHARM: Car repair manuals for everyone.
Manuals through 2025 now available!

Our trusted friends have launched a new website named LEMON, which has newer manuals. It also contains all the CHARM manuals.

LEMON is the spiritual successor to CHARM, I recommend you try it!

Link: lemon-manuals.la or lemon-manuals.org.ua

(Some people have issue connecting. LEMON is investigating. For now, use Firefox or change your DNS server)

Or, hide this message: temporarily or permanently

Part 1



Thread Repair Specifications

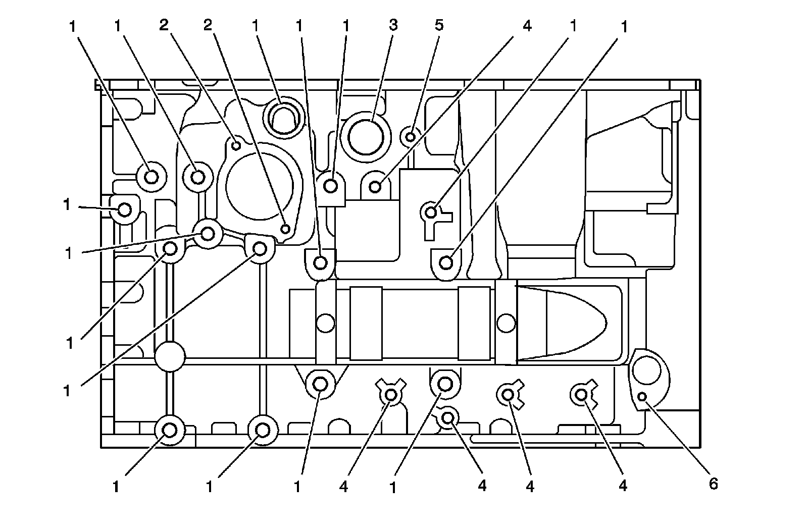
Engine Block - Top View:




Engine Block - Top View:




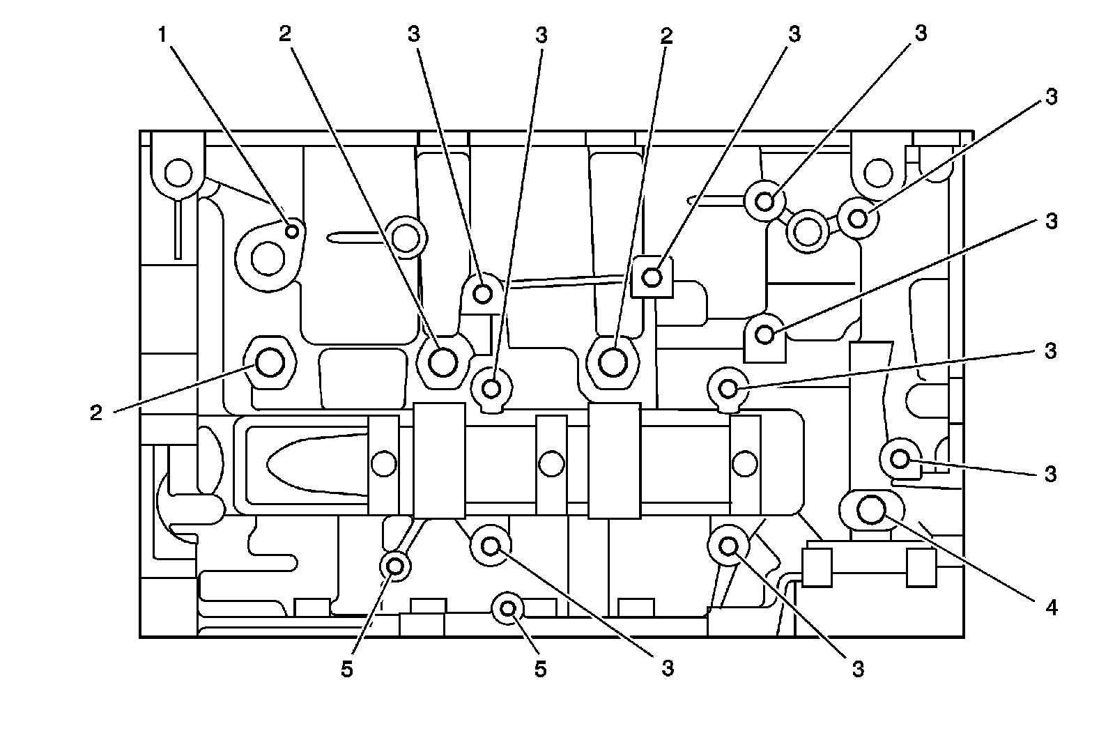
Engine Block - Bottom:




Engine Block - Bottom:




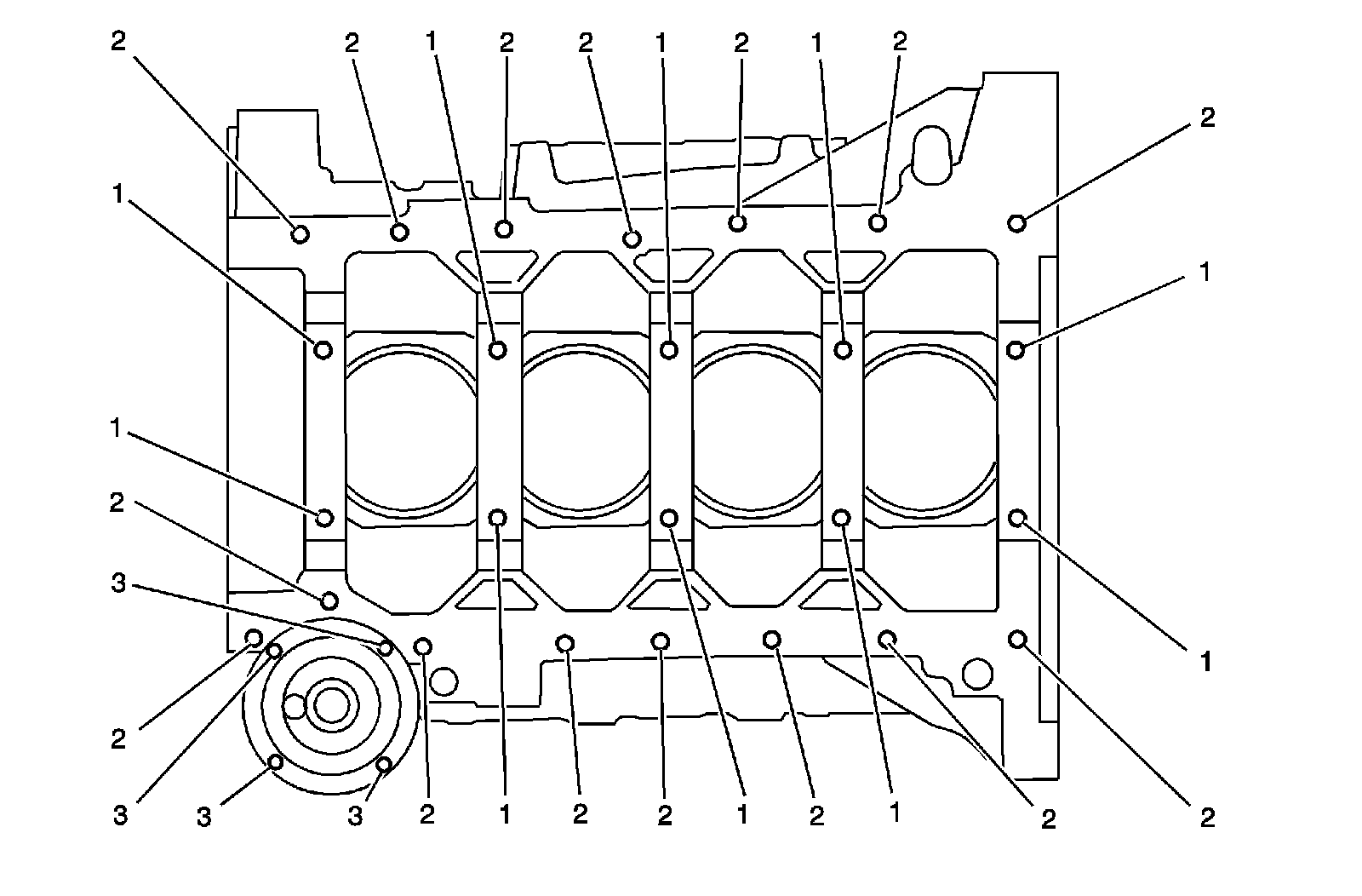
Engine Block - Left Side View:




Engine Block - Left Side View:




Engine Block - Right Side View:




Engine Block - Right Side View:




Engine Block - Front View:




Engine Block - Front View:




Engine Block - Rear View:




Engine Block - Rear View:




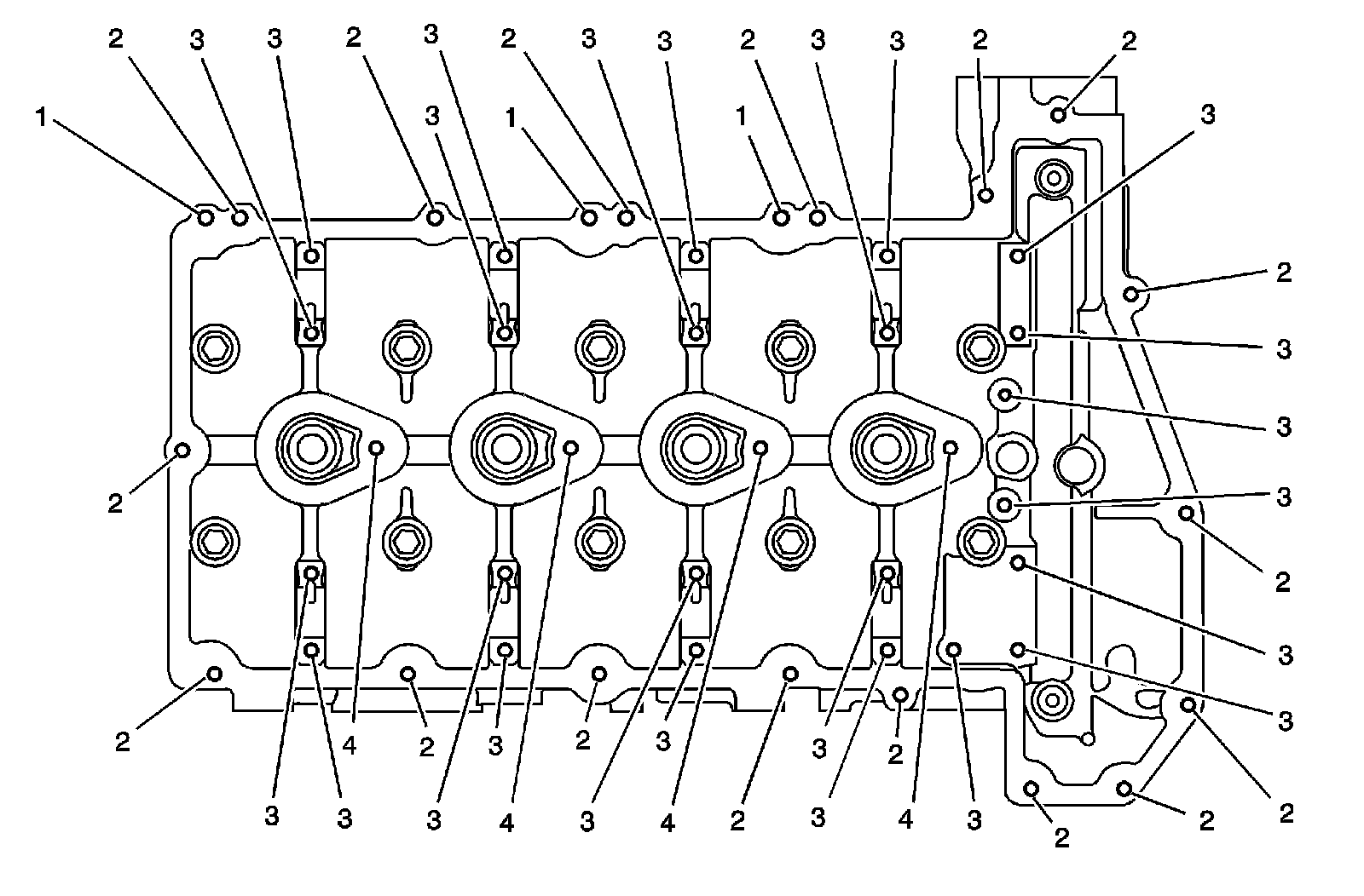
Cylinder Head - Top View:




Cylinder Head - Top View:




Cylinder Head - End - Front View:




Cylinder Head - End - Front View:




Cylinder Head - End - Rear View:




Cylinder Head - End - Rear View:




Cylinder Head - Intake Manifold Deck View:




Cylinder Head - Intake Manifold Deck View: