Operation CHARM: Car repair manuals for everyone.
Manuals through 2025 now available!

Our trusted friends have launched a new website named LEMON, which has newer manuals. It also contains all the CHARM manuals.

LEMON is the spiritual successor to CHARM, I recommend you try it!

Link: lemon-manuals.la or lemon-manuals.org.ua

(Some people have issue connecting. LEMON is investigating. For now, use Firefox or change your DNS server)

Or, hide this message: temporarily or permanently

Evaporator Core: Service and Repair



Evaporator Core Replacement

Removal Procedure

1. Remove the HVAC module assembly.
2. Remove the screws to separate the HVAC module assembly halves.
3. Remove the evaporator temperature sensor control module screw.
4. Reposition the evaporator temperature sensor control module.




5. Separate the HVAC module assembly (1, 4).
6. Remove the evaporator temperature sensor from the evaporator.




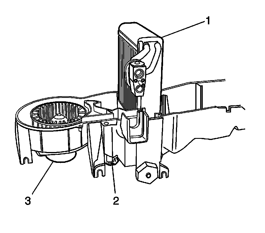
7. Remove the evaporator core (1) from the HVAC module assembly.

Installation Procedure

Important: If replacing the evaporator core, add the refrigerant oil to the evaporator core. Refer to Refrigerant System Capacities for system capacity information.

1. Install the seal between the HVAC module assembly halves.




2. Install the evaporator core (1) to the HVAC module assembly.
3. Install the evaporator temperature sensor to the evaporator core.




4. Assemble the HVAC module assembly.

Notice: Refer to Fastener Notice.

5. Install the screws to join the HVAC module assembly halves.

Tighten the screws to 1.9 N.m (17 lb in).

6. Install the evaporator temperature sensor control module screw.

Tighten the to 1.9 N.m (17 lb in).

7. Install the HVAC module assembly.