Operation CHARM: Car repair manuals for everyone.
Manuals through 2025 now available!

Our trusted friends have launched a new website named LEMON, which has newer manuals. It also contains all the CHARM manuals.

LEMON is the spiritual successor to CHARM, I recommend you try it!

Link: lemon-manuals.la or lemon-manuals.org.ua

(Some people have issue connecting. LEMON is investigating. For now, use Firefox or change your DNS server)

Or, hide this message: temporarily or permanently

Steering Column Wire Harness Assembly Replacement



Steering Column Wire Harness Assembly Replacement

Removal Procedure




Caution: Refer to SIR Caution.

1. Disable the SIR system. Refer to SIR Disabling and Enabling.
2. Remove the upper and lower trim covers. Refer to Steering Column Trim Covers Replacement.
3. Remove the wire harness strap.




4. Remove the steering wheel theft deterrent lock. Refer to Steering Wheel Theft Deterrent Lock Replacement.
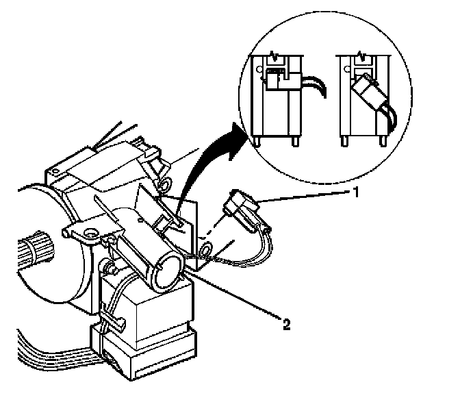
5. Rotate the key alarm connector (1) 90 degrees.
6. Gently pull the key alarm connector (1) out of the ignition lock cylinder case assembly (2).
7. Disconnect the connector from the ignition switch assembly.
8. Remove the wires encased in the ignition switch clip, which is located on the side of the ignition switch.





Important: If the steering wheel has steering wheel controls, the SIR coil and the wire harness assembly must come off as one piece. Refer to Inflatable Restraint Steering Wheel Module Coil Replacement.

9. Disconnect all connectors attached to the wire harness assembly.

Installation Procedure




1. If the steering wheel has steering wheel controls, install the SIR coil. Refer to Inflatable Restraint Steering Wheel Module Coil Replacement.
2. Connect all of the connectors from the new wire harness assembly.




3. Push the key alarm connector (1) into the ignition lock cylinder case assembly (2).
4. Rotate the key alarm connector (1) 90 degrees so that the key alarm connector (1) locks into place.
5. Install the steering wheel theft deterrent lock. Refer to Steering Wheel Theft Deterrent Lock Replacement.
Caution: Refer to SIR Inflator Module Coil Caution.

6. Install the wires back into the ignition switch clip, located on the side of the ignition switch.




7. Install the wire harness strap.
8. Install the upper and lower trim covers. Refer to Steering Column Trim Covers Replacement.
9. Enable the SIR system. Refer to SIR Disabling and Enabling.