Operation CHARM: Car repair manuals for everyone.
Manuals through 2025 now available!

Our trusted friends have launched a new website named LEMON, which has newer manuals. It also contains all the CHARM manuals.

LEMON is the spiritual successor to CHARM, I recommend you try it!

Link: lemon-manuals.la or lemon-manuals.org.ua

(Some people have issue connecting. LEMON is investigating. For now, use Firefox or change your DNS server)

Or, hide this message: temporarily or permanently

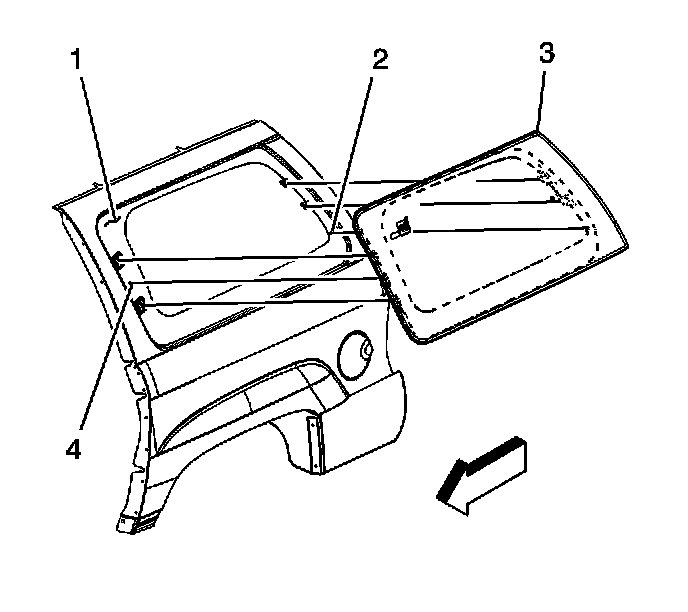
Body Side Window Replacement



BODY SIDE WINDOW REPLACEMENT

TOOLS REQUIRED
- J 39032 Stationary Glass Removal Tool
- Urethane Adhesive Kit GM P/N 12346392 or Equivalent
- Isopropyl Alcohol or Equivalent
- Cartridge-type Caulking Gun
- Commercial-type Utility Knife
- Razor Blade Scraper
- Suction Cups
- Plastic Paddle

REMOVAL PROCEDURE

1. IMPORTANT: The interior trim panels do not have to be removed to remove the body side window frame.

Ensure the body side window is in the full closed position. If not, the window actuator will need to be adjusted.
2. If the actuator is not being replaced, perform the following 2 steps.




3. Position the bellcrank (1) at a 45 degree angle (2) compared to the vertical edge of the window side sheet metal (4).




4. Using the body side power window switches (1 or 2) at the overhead console, push the switch in order to position the bellcrank at a 45 degree angle to the sheet metal flange.

5. CAUTION: If a window is cracked but still intact, crisscross the window with masking tape in order to reduce the risk of damage or personal injury.

IMPORTANT: Before cutting out a body side window, apply a double layer of masking tape around the perimeter of the painted surfaces and inner trim of the window.

Open the rear doors.

6. Cover to protect the following parts from broken glass if necessary:
- Defroster outlets and A/C outlets
- Seats and carpeting




7. Disconnect the window bracket to actuator arm (1) by loosening screw (2).





8. CAUTION: When working with any type of glass or sheet metal with exposed or rough edges, wear approved safety glasses and gloves in order to reduce the chance of personal injury.

From the exterior of the vehicle, wearing safety gloves and goggles, pull the body side window outward and forward until the front body side window hinge releases from the window frame (2). Discard the body side window.





9. CAUTION: When working with any type of glass or sheet metal with exposed or rough edges, wear approved safety glasses and gloves in order to reduce the chance of personal injury.

IMPORTANT: Keep the cutting edge of the tool against the body side window frame. Do this from outside side the vehicle.

Separate the urethane adhesive from the body side hinged window frame.
- Leave a base of urethane on the pinch-weld flange.
- The only suitable lubrication is clear water.
- Use the J 39032 or equivalent in order to remove the body side hinged window frame.




10. Remove the window frame (1) from the body side opening.

INSTALLATION PROCEDURE

1. CAUTION: Insufficient curing of urethane adhesive may allow unrestrained occupants to be ejected from the vehicle resulting in personal injury.

- For the moisture-curing type of urethane adhesive, allow a minimum of 6 hours at 21°C (70°F) or greater and with at least 30 percent relative humidity. Allow at least 24 hours for the complete curing of the urethane adhesive.
- For the chemical-curing type of urethane adhesive, allow a minimum of 1 hour.

Do NOT physically disturb the repair area until after these minimum times have elapsed.

IMPORTANT: The actuator screw must be tightened and the window frame pin must be removed for the window to function properly.

Install the body side window into the opening.
2. Remove the double layer of masking tape around the perimeter of the painted surfaces and inner trim of the window.




3. Insert the actuator screw into the slot on the window bracket.

4. NOTE: Refer to Fastener Notice.

Tighten the actuator screw.

Tighten the screw to 5 N.m (44 lb in).




5. Remove the window bracket (3) to the window frame pin (1) prior to operating the body side window.