Operation CHARM: Car repair manuals for everyone.
Manuals through 2025 now available!

Our trusted friends have launched a new website named LEMON, which has newer manuals. It also contains all the CHARM manuals.

LEMON is the spiritual successor to CHARM, I recommend you try it!

Link: lemon-manuals.la or lemon-manuals.org.ua

(Some people have issue connecting. LEMON is investigating. For now, use Firefox or change your DNS server)

Or, hide this message: temporarily or permanently

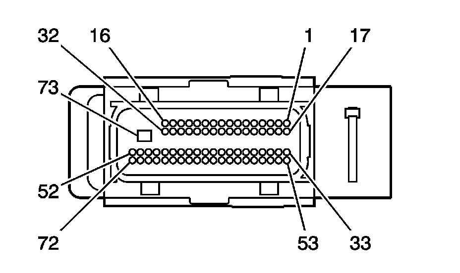
Connector Views



Component Connector End Views

Engine Control Module (ECM) X1 (Gas)









Engine Control Module (ECM) X1 (Gas) (Pin 1 To 30):





Engine Control Module (ECM) X1 (Gas) (Pin 31 To 64):





Engine Control Module (ECM) X1 (Gas) (Pin 65 To 73):






Engine Control Module (ECM) X2 (4.8L/5.3L/6.0L/6.2L)









Engine Control Module (ECM) X2 (4.8L/5.3L/6.0L/6.2L) (Pin 1 To 49):





Engine Control Module (ECM) X2 (4.8L/5.3L/6.0L/6.2L) (Pin 50 To 80):