Operation CHARM: Car repair manuals for everyone.
Manuals through 2025 now available!

Our trusted friends have launched a new website named LEMON, which has newer manuals. It also contains all the CHARM manuals.

LEMON is the spiritual successor to CHARM, I recommend you try it!

Link: lemon-manuals.la or lemon-manuals.org.ua

(Some people have issue connecting. LEMON is investigating. For now, use Firefox or change your DNS server)

Or, hide this message: temporarily or permanently

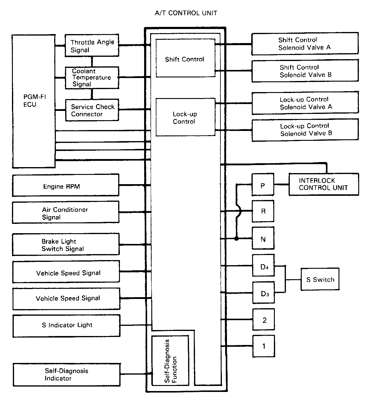
Transmission Control Systems: Description and Operation





ELECTRONIC CONTROL SYSTEM
The electronic control system consists of the automatic control unit, sensors, and 4 solenoid valves Shifting and lock-up are electronically controlled for comfortable driving under all conditions.

The automatic control unit is located below the dashboard, under the front lower panel on the passenger's side.





SHIFT CONTROL
Getting a signal from each sensor, the automatic control unit detects the appropriate gear shifting and activates shift control solenoid valves A and/or B.

The combination of driving signals to shift control solenoid valves A and B is shown in the image.





LOCK-UP CONTROL
From sensor input signals, the automatic control unit detects whether to turn the lock-up ON or OFF and activates lockup control solenoid valve A and/or B accordingly.

The combination of driving signals to lock-up control solenoid valves A and B is shown in the image.