Operation CHARM: Car repair manuals for everyone.
Manuals through 2025 now available!

Our trusted friends have launched a new website named LEMON, which has newer manuals. It also contains all the CHARM manuals.

LEMON is the spiritual successor to CHARM, I recommend you try it!

Link: lemon-manuals.la or lemon-manuals.org.ua

(Some people have issue connecting. LEMON is investigating. For now, use Firefox or change your DNS server)

Or, hide this message: temporarily or permanently

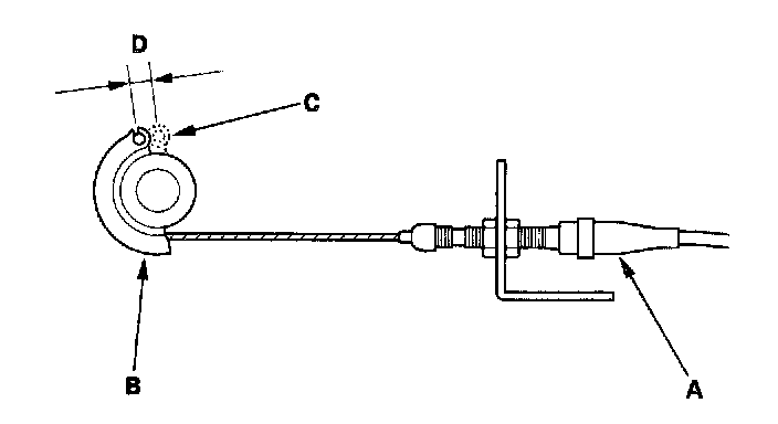
Cruise Control Servo Cable: Adjustments

Actuator Cable Adjustment




1. Check that the actuator cable (A) moves smoothly with no binding or sticking.
2. Start the engine. Hold the engine at 3,000 rpm with no load ([N] or [P] position) until the radiator fan comes on, then let it idle.
3. Measure the amount of movement of the output linkage (B) until the engine speed starts to increase. At first, the output linkage should be located at the fully closed position (C). The free play (D) should be 3.75 ± 0.5 mm (0.15 ± 0.02 in.).




4. If the free play is not within specs, move the cable to the point where the engine speed starts to increase, and tighten the locknut (A) and adjusting nut (B).




5. Turn the adjusting nut (B) until it is 3.75 ± 0.5 mm (0.15 ± 0.02 in.) away from the bracket (C).




6. Pull the cable so that the adjusting nut (B) touches the bracket, and tighten the locknut (A).