Operation CHARM: Car repair manuals for everyone.
Manuals through 2025 now available!

Our trusted friends have launched a new website named LEMON, which has newer manuals. It also contains all the CHARM manuals.

LEMON is the spiritual successor to CHARM, I recommend you try it!

Link: lemon-manuals.la or lemon-manuals.org.ua

(Some people have issue connecting. LEMON is investigating. For now, use Firefox or change your DNS server)

Or, hide this message: temporarily or permanently

Initial Inspection and Diagnostic Overview

How to Troubleshoot Circuits at the ECM/PCM

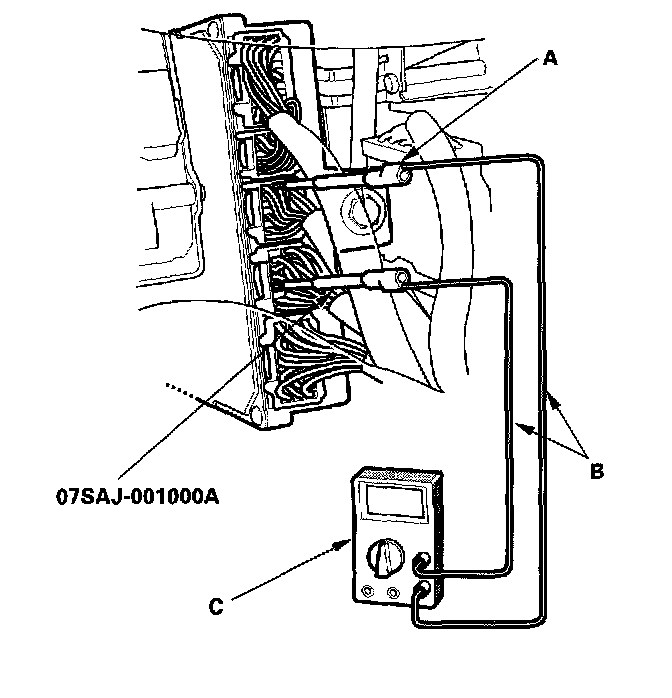
Special Tools Required
- Digital Multimeter KS-AHM-32-003 (1) or a commercially available digital multimeter
- Backprobe Set 07SAZ-001000A (2)




1. Connect the backprobe adapters (A) to the stacking patch cords (B), and connect the cords to a digital multimeter (C).
2. Using the wire insulation as a guide for the contoured tip of the backprobe adapter, gently slide the tip into the connector from the wire side until it touches the end of the wire terminal.




3. If you cannot get to the wire side of the connector or the wire side is sealed (A) disconnect the connector and probe the terminals (B) from the terminal side. Do not force the probe into the connector.

NOTE: Do not puncture the insulation on a wire. Punctures can cause poor or intermittent electrical connections.