Power Relay Test
Relay TestUse this chant to identify the type of relay, then do the test listed for it.
NOTE: See turn signal/hazard relay input test.
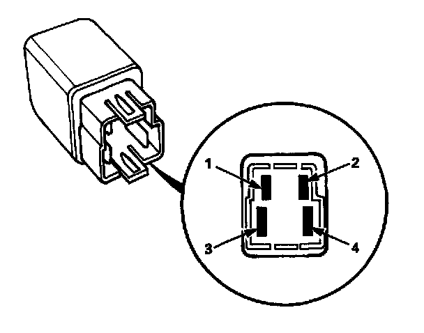
Normally-open type A:
1. Check for continuity between the terminals.
- There should be continuity between the No.1 and No.3 terminals when power and ground are connected to the No.2 and No.4 terminals.
- There should be no continuity between the No.1 and No.3 terminals when power is disconnected.
- Blower motor high relay
- Rear accessory socket relay (M/T)
- Blower motor relay
- Rear window defogger relay
Type 1
Type 2
Normally-open type B:
1. Check for continuity between the terminals.
- There should be continuity between the No.1 and No.2 terminals when power and ground are connected to the No.3 and No.4 terminals.
- There should be no continuity between the No.1 and No.2 terminals when power is disconnected.
Type 1:
- Power window relay
- Radiator fan relay
- Condenser fan relay
- A/C compressor clutch relay
- Reverse relay (A/T)
- Horn relay
- Rear accessory socket relay (A/T)
- Starter cut relay
Normally-open type C:
1. Check for continuity between the terminals.
- There should be continuity between the No.4 and No.3 terminals when power and ground are connected to the No.1 and No.2 terminals.
- There should be no continuity between the No.4 and No.3 terminals when power is disconnected.
- ABS pump motor relay