Relay Testing
Relay TestingNOTE:
- If the engine starts and continues to run, the PGM-FI main relay is OK.
- Use the terminal numbers below; ignore the terminal numbers molded into the relay.
1. Remove the PGM-FI main relay.
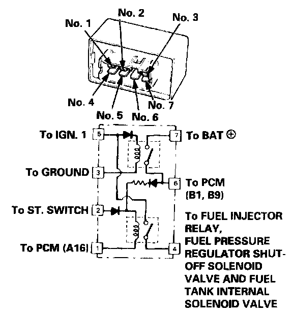
2. Attach the battery positive terminal to the No. 2 terminal and the battery negative terminal to the No. 1 terminal of the PGM-FI main relay. Then check for continuity between the No. 5 terminal and No. 4 terminal of the PGM-FI main relay.
- If there is continuity, go on to step 3.
- If there is no continuity, replace the PGM-FI main relay and retest.
3. Attach the battery positive terminal to the No. 5 terminal and the battery negative terminal to the No. 3 terminal of the PGM-FI main relay. Then check that there is continuity between the No. 7 terminal and No. 6 terminal of the PGM-FI main relay.
- If there is continuity, go on to step 4.
- If there is no continuity, replace the PGM-FI main relay and retest.
4. Attach the battery positive terminal to the No. 6 terminal and the battery negative terminal to the No. 1 terminal of the PGM-FI main relay. Then check that there is continuity between the No. 5 terminal and No. 4 terminal of the PGM-FI main relay.
- If there is continuity, the PGM-FI main relay is OK. If the fuel injector relay, fuel pressure regulator shut-off solenoid valve and fuel tank internal solenoid valve still do not work, go to Harness Testing.
- If there is no continuity, replace the PGM-FI main relay and retest.