Operation CHARM: Car repair manuals for everyone.
Manuals through 2025 now available!

Our trusted friends have launched a new website named LEMON, which has newer manuals. It also contains all the CHARM manuals.

LEMON is the spiritual successor to CHARM, I recommend you try it!

Link: lemon-manuals.la or lemon-manuals.org.ua

(Some people have issue connecting. LEMON is investigating. For now, use Firefox or change your DNS server)

Or, hide this message: temporarily or permanently

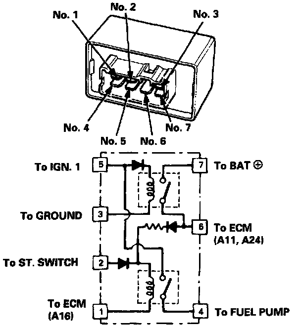
PGM-FI Main Relay Test


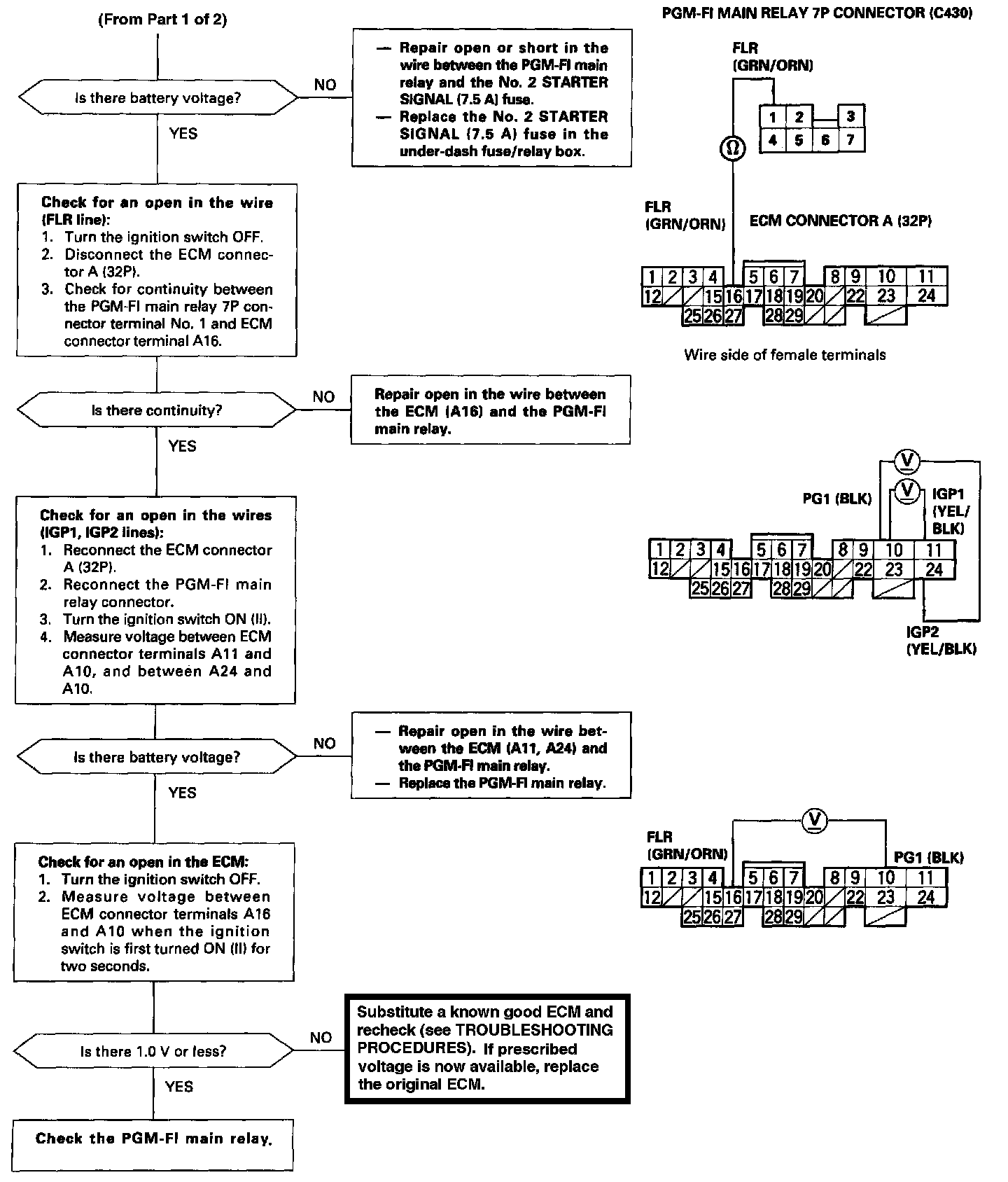
Part 1 Of 2:




Part 2 Of 2:







NOTE: If the engine starts and continues to run, the PGM-FI main relay is OK.

1. Remove the PGM-FI main relay.





2. Attach the battery positive terminal to the No.2 terminal and the battery negative terminal to the No.1 terminal of the PGM-FI main relay. Then check for continuity between the No.5 terminal and No.4 terminal of the PGM-FI main relay.
- If there is no continuity, replace the PGM-FI main relay and retest.
- If there is continuity, go on to step 3.

3. Attach the battery positive terminal to the No.5 terminal and the battery negative terminal to the No.3 terminal of the PGM-FI main relay. Then check that there is continuity between the No.7 terminal and No.6 terminal of the PGM-FI main relay.
- If there is no continuity, replace the PGM-FI main relay and retest.
- If there is continuity, go on to step 4.

4. Attach the battery positive terminal to the No.6 terminal and the battery negative terminal to the No.1 terminal of the PGM-FI main relay. Then check that there is continuity between the No.5 terminal and No.4 terminal of the PGM-FI main relay.
- If there is no continuity, replace the PGM-FI main relay and retest.
- If there is continuity, the PGM-FI main relay is OK. If the fuel pump still does not work, go to Harness Testing.