Operation CHARM: Car repair manuals for everyone.
Manuals through 2025 now available!

Our trusted friends have launched a new website named LEMON, which has newer manuals. It also contains all the CHARM manuals.

LEMON is the spiritual successor to CHARM, I recommend you try it!

Link: lemon-manuals.la or lemon-manuals.org.ua

(Some people have issue connecting. LEMON is investigating. For now, use Firefox or change your DNS server)

Or, hide this message: temporarily or permanently

Drive Motor/Generator: Service and Repair

IMA Motor Removal/Installation

Special Tools Required
Rotor puller (Available for loan from AHM Special Tools) 07YAC-PHM010B

The motor rotor contains very strong magnets and should be handled with special care. People with pacemakers or other sensitive medical devices should not handle the motor rotor.

WARNING: If the motor rotor is installed by hand, it may suddenly be pulled toward the motor stator with great force causing serious hand or finger injury. Always use the special tool to remove or install a motor rotor.
^ Do not use the motor rotor if the fiberglass band is damaged. If the band breaks during use, magnets may come loose from the motor rotor.
^ Keep the motor rotor away from magnetically sensitive devices.
^ Do not blow air near the rotor, as metal particles may get on the magnet.
^ Store the rotor in the designated storage box and hold it away from the sensitive device during storage.


1. M/T: Remove the transmission, and the clutch.
2. CVT: Remove the transmission.
3. Remove the motor power cables from the motor stator terminals.





4. Remove the support (A).

NOTE: When installing the support, align the mark (B) on the drive plate and the hole (C) on the support.





5. Remove the drive plate (A).

NOTE: When installing the drive plate, check the insulating paint for damage.





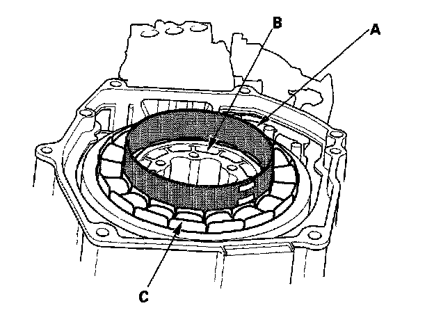
6. Install a plastic film (A) between the motor rotor (B) and motor stator (C).





7. Remove three of the six bolts (A) as shown.





8. Install the rotor puller guide pins, then remove the remaining three bolts (A), then remove the rotor spacer (B).





9. Attach the rotor puller with the bolts supplied.





10. Remove the motor rotor (A).





11. Remove the bolts (A).
12. Remove the motor stator (B).





13. Install the parts in the reverse order of removal.

NOTE:
^ Connect the motor power cable with the U phase, V phase, and W phase in the correct positions.
^ Set the rotor on the special tool, and install the rotor with the end of the special tool extended.
^ Turn the handle of the special tool slowly when inserting the rotor into the stator. The rotor is drawn into the stator by magnetic force.