Operation CHARM: Car repair manuals for everyone.
Manuals through 2025 now available!

Our trusted friends have launched a new website named LEMON, which has newer manuals. It also contains all the CHARM manuals.

LEMON is the spiritual successor to CHARM, I recommend you try it!

Link: lemon-manuals.la or lemon-manuals.org.ua

(Some people have issue connecting. LEMON is investigating. For now, use Firefox or change your DNS server)

Or, hide this message: temporarily or permanently

Component Tests and General Diagnostics

Relays - Power Relay Test:




Power Relay Test

Use this chart to identify the type of relay, then do the test listed for it.

NOTE: For the turn signal/hazard relay input test.










Normally-open type A

Check for continuity between the terminals.

- There should be continuity between the No.1 and No.2 terminals when power and ground are connected to the No.3 and No.4 terminals.
- There should be no continuity between the No.1 and No.2 terminals when power is disconnected.










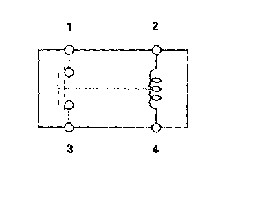
Normally-open type B

Check for continuity between the terminals.

- There should be continuity between the No.1 and No.3 terminals when power and ground are connected to the No.2 and No.4 terminals.
- There should be no continuity between the No.1 and No.3 terminals when power is disconnected.




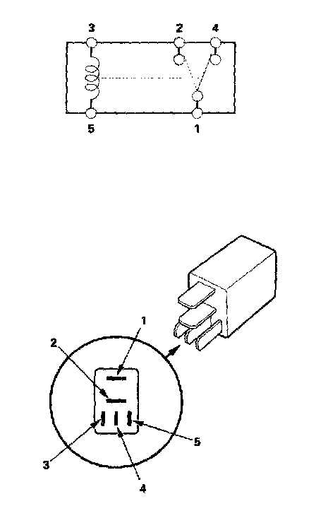
Five-terminal type

Check for continuity between the terminals.

- There should be continuity between the No.1 and No.2 terminals when power and ground are connected to the No.3 and No.5 terminals.
- There should be continuity between the No.1 and No.4 terminals when power is disconnected.