Operation CHARM: Car repair manuals for everyone.
Manuals through 2025 now available!

Our trusted friends have launched a new website named LEMON, which has newer manuals. It also contains all the CHARM manuals.

LEMON is the spiritual successor to CHARM, I recommend you try it!

Link: lemon-manuals.la or lemon-manuals.org.ua

(Some people have issue connecting. LEMON is investigating. For now, use Firefox or change your DNS server)

Or, hide this message: temporarily or permanently

Back Window Glass: Service and Repair

Rear Window Replacement

NOTE:
- Put on gloves to protect your hands.
- Wear eye protection while cutting the glass adhesive with piano wire.
- Use seat covers to avoid damaging any surfaces.
- Do not damage the rear window defogger grid lines, window antenna grid lines, and terminals.

1. Remove these items;
- Trunk lid
- Rear shelf




2. Disconnect the rear window defogger connectors (A).
3. If the old rear window is to be reinstalled, make alignment marks across the glass and body with a grease pencil.




4. Pull down the rear portion of the headliner (A) by detaching the clips (B). Take care not to bend the headliner excessively, or you may crease or break it.

5. Apply protective tape along the inside and outside edges of the body. Using an awl, make a hole through the adhesive from inside the vehicle at the corner portion of the rear window. Push a piece of piano wire through the hole, and wrap each end around a piece of wood.







6. With a helper on the outside, pull the piano wire (A) back and forth in a sawing motion. Hold the piano wire as close to the rear window (B) as possible to prevent damage to the body, and carefully cut through the adhesive (C) around the entire rear window.
7. Carefully remove the rear window.
8. With a putty knife, scrape the old adhesive smooth to a thickness of about 2 mm (0.08 in.) on the bonding surface around the entire rear window opening flange.
- Do not scrape down to the painted surface of the body; damaged paint will interfere with proper bonding.
- Remove the fasteners from the body.
9. Clean the body bonding surface with a sponge dampened in alcohol. After cleaning, keep oil, grease and water from getting on the surface.
10. If the old rear window is to be reinstalled, use a putty knife to scrape off all of the old adhesive, the moldings and the fasteners from the rear window. Clean the inside face and the edge of the rear window with alcohol where new adhesive is to be applied. Make sure the bonding surface is kept free of water, oil, and grease.




11. Attach the upper fasteners (A) and side fasteners (B) with adhesive tape to the inside face of the rear window (C) as shown.
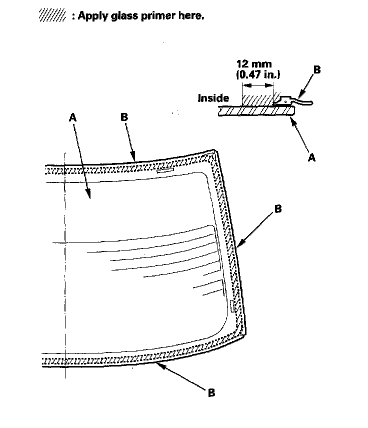
Apply primer to the inside face of the rear window as shown:
- Be sure the fasteners line up with the alignment marks (D).
- Be careful not to touch the rear window where adhesive will be applied.




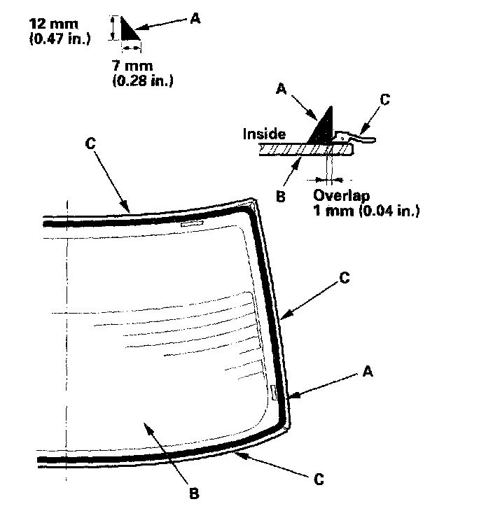
12. Attach the upper molding (A), side moldings (B), and lower molding (C) with adhesive tape around the edge of the rear window (D):
- Attach the moldings in the numbered sequence.
- After installing the moldings, cut the corner edge areas (E) of the moldings as shown.
- Be careful not to touch the rear window where adhesive will be applied.




13. Attach the upper fasteners (A) and side fasteners (B) with adhesive tape to the rear window opening flange (C) of the body.




14. Set the rear window in the opening, and center it. Make alignment marks (A) across the rear window and body with a grease pencil at the four points shown. Be careful not to touch the rear window where adhesive will be applied.
15. Remove the rear window.




16. With a sponge, apply a light coat of glass primer along the edge of the rear window (A) and molding (B) as shown, then lightly wipe it off with gauze or cheesecloth:
- Do not apply body primer to the rear window, and do not get body and glass primer sponges mixed up.
- Never touch the primed surfaces with your hands. If you do, the adhesive may not bond to the rear window properly, causing a leak after the rear window is installed.
- Keep water, dust, and abrasive materials away from the primed surfaces.




17. With a sponge, carefully apply a light coat of body primer to any exposed paint or metal around the flange where new adhesive will be applied. Let the primer dry for at least 10 minutes:
- Do NOT apply body primer to any remaining original adhesive on the flange.
- Be careful not to mix up the body and glass primer sponges
- Never touch the primed surfaces with your hands.




18. Cut a "V"in the end of the nozzle (A) on the adhesive cartridge as shown.




19. Put the cartridge in a caulking gun, and run a bead of adhesive (A) around the edge of the rear window (B) and moldings (C) as shown. Apply the adhesive within 30 minutes after applying the glass primer. Make a slightly thicker bead at each corner.
20. Use suction cups to hold the rear window over the opening, align it with the alignment marks you made instep 14, and set it down on the adhesive. Lightly push on the rear window until its edges are fully seated on the adhesive all the way around. Do not open or close the doors until the adhesive is dry.
21. Scrape or wipe the excess adhesive off with a putty knife or towel. To remove adhesive from a painted surface or the rear window, use a soft shop towel dampened with alcohol.
22. Let the adhesive dry for at least 4 hour, then spray water over the rear window and check for leaks. Mark the leaking areas, let the rear window dry, then seal with sealant. Let the vehicle stand for at least 4 hours after rear window installation. If the vehicle has to be used within the first 4 hours, it must be driven slowly.
23. Reinstall all remaining removed parts.

NOTE: Advise the customer not to do the following things for 2 to 3 days:
- Slam the doors with all the windows rolled up.
- Twist the body excessively (such as when going in and out of driveways at an angle or driving over rough, uneven roads).