Operation CHARM: Car repair manuals for everyone.
Manuals through 2025 now available!

Our trusted friends have launched a new website named LEMON, which has newer manuals. It also contains all the CHARM manuals.

LEMON is the spiritual successor to CHARM, I recommend you try it!

Link: lemon-manuals.la or lemon-manuals.org.ua

(Some people have issue connecting. LEMON is investigating. For now, use Firefox or change your DNS server)

Or, hide this message: temporarily or permanently

Piston, Pin and Connecting Rod Replacement

Disassembly
1. Remove the piston from the cylinder block.





2. Apply engine oil to the piston pin snap rings (A) and turn them in the ring grooves until the end gaps are lined up with the cutouts in the piston pin bores (B).

NOTE: Take care not to damage the ring grooves.





3. Remove both snap rings (A). Start at the cutout in the piston pin bore. Remove the snap rings carefully so they do not go flying or get lost. Wear eve protection.





4. Heat the piston and connecting rod assembly to approximately 158°F (70°C), then remove the piston pin.

Inspection

NOTE: Inspect the piston, piston pin and connecting rod when they are at room temperature.





1. Measure the diameter of the piston pin.





2. Zero the dial indicator to the piston pin diameter.





3. Check the difference between the piston pin diameter and piston pin hole diameter on the piston.





4. Measure the piston pin-to-connecting rod clearance.

Reassembly





1. Install a piston pin snap ring (A).
2. Coat the piston pin bore in the piston, the bore in the connecting rod, and the piston pin with engine oil.





3. Heat the piston to approximately 158°F (70°C).





4. Install the piston pin (A). Assemble the piston (B) and connecting rod (C) with the embossed marks (D) on the same side.
5. Install the remaining snap ring.

Piston Ring Replacement
1. Remove the piston from the cylinder block.





2. Using a ring expander (A), remove the old piston rings (B).
3. Clean all the ring grooves thoroughly with a squared-off broken ring or ring groove cleaner with a blade to fit the piston grooves. File down the blade if necessary. Top ring and second ring grooves are 1.2 mm (0.05 inch) wide, and the oil ring groove is 2.8 mm (0.11 inch) wide. Do not use a wire brush to clean the ring grooves, or cut the ring grooves deeper with the cleaning tool.

NOTE: If the piston is to be separated from the connecting rod, do not install new rings yet.





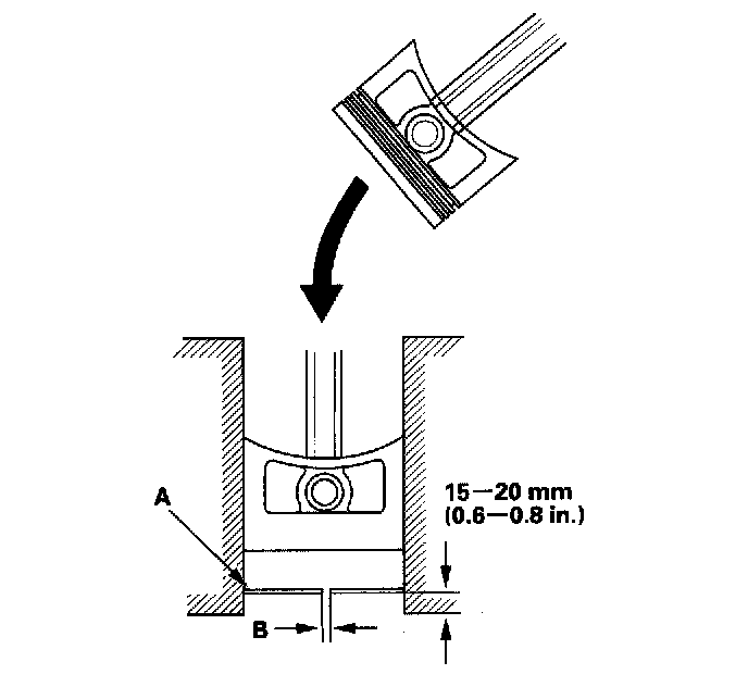
4. Using a piston, push a new ring (A) into the cylinder bore 15 - 20 mm (0.6 - 0.8 inch) from the bottom.
5. Measure the piston ring end-gap (B) with a feeler gauge:
- If the gap is too small, check to see if you have the proper rings for your engine.
- If the gap is too large, recheck the cylinder bore diameter against the wear limits (see step 4). If the bore is over the service limit, the cylinder block must be rebored.
Piston Ring End-Gap:
Top Ring
Standard (New): 0.20 - 0.35 mm (0.008 - 0.014 inch)
Service Limit: 0.60 mm (0.024 inch)
Second Ring
Standard (New): 0.40 - 0.55 mm (0.016 - 0.022 inch)
Service Limit: 0.70 mm (0.028 inch)
Oil Ring
Standard (New): 0.20 - 0.70 mm (0.008 - 0.028 inch)
Service Limit: 0.80 mm (0.031 inch)





6. Install the rings as shown. The top ring (A) has a 1C or 1D mark and the second ring (B) has a 2C mark. The manufacturing marks (C) must be facing upward.
7. Rotate the rings in their grooves to make sure they do not bind.





8. Position the ring end gaps as shown:





9. After installing a new set of rings, measure the ring-to-groove clearance: